Каталог запасных частей к технике: Mazda 323 S 1.5 Comfort (2012). Двигатель/ Система охлаждения 4

4
5
6
7
8
9
10
12
1
3
11
2
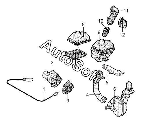
Позиция на иллюстрации | Заводской номер детали | Название детали | |
---|---|---|---|
1 | Z***A | К-кт проводов высокого напряжения | |
2 | B***0 | Распределитель в сборе | |
3 | B***A | Крышка распределителя | |
4 | B***0 | Шланг воздушный | |
5 | B***0 | Кронштейн воздушного фильтра | |
6 | B***C | Камера воздушная передн. прав. | |
7 | B***A | Элемент фильтрующий | |
8 | B***A | Фильтр воздушный верхн. часть | |
9 | B***B | Фильтр воздушный в сборе | |
10 | B***5 | Расходомер воздуха | |
11 | B***1 | Шланг воздушного фильтра | |
12 | B***A | Камера воздушная передн. лев. |
Содержащиеся в справочниках-каталогах запасные части и детали не предлагаются к продаже, а носят исключительно информационный характер. В демо-версии артикулы (номера деталей) скрыты. Если вы хотите видеть полные оригинальные номера запчастей, вам необходимо зарегистрироваться на нашем сайте и приобрести подписку по интересующей вас конфигурации, после этого вы сможете встроить онлайн-каталоги на ваш сайт или пользоваться ими из личного кабинета нашего сайта. Обращаем ваше внимание на то, что каталоги содержат информацию об оригинальных заводских номерах и названиях запчастей. База по аналогам в данный момент не реализована. Поиска по VIN-номерам в онлайн-каталоге не предусмотрено. Выбор конкретного каталога осуществляется путем открытия нужного типа техники, марки, модели с учетом года выпуска или модификации.