Каталог запасных частей к технике: Mazda 626 1.9i Travel (2012). Рама/Элементы жесткости кузова 2

10
12
15
6
6
5
5
4
4
1
9
8
7
7
3
2
2
1
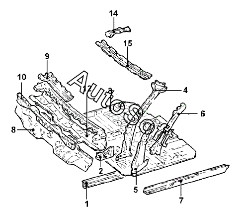
Позиция на иллюстрации | Заводской номер детали | Название детали | |
---|---|---|---|
1 | G***B | Лонжерон пола передн. прав. | |
1 | G***B | Лонжерон пола передн. лев. | |
2 | G***A | Усилитель щитка передка прав. наружн. | |
2 | G***A | Усилитель щитка передка лев. наружн. | |
3 | G***A | Основание передн. | |
4 | G***A | Стойка передн. прав. внутр. часть | |
4 | G***A | Стойка передн. лев. внутр. часть | |
5 | G***B | Усилитель передн. прав. стойки нижн. | |
5 | G***B | Усилитель передн. лев. стойки нижн. | |
6 | G***2 | Усилитель передн. прав. стойки верхн. | |
6 | G***2 | Усилитель передн. лев. стойки верхн. | |
7 | G***B | Усилитель передн. основания прав. наружн. | |
7 | G***B | Усилитель передн. основания лев. наружн. | |
8 | G***0 | Щиток передка | |
9 | G***C | Накладка облицовочная верхн. | |
10 | G***E | Обтекатель передн. | |
12 | G***K | Щиток передка | |
15 | G***0 | Поперечина крыши передн. |
Содержащиеся в справочниках-каталогах запасные части и детали не предлагаются к продаже, а носят исключительно информационный характер. В демо-версии артикулы (номера деталей) скрыты. Если вы хотите видеть полные оригинальные номера запчастей, вам необходимо зарегистрироваться на нашем сайте и приобрести подписку по интересующей вас конфигурации, после этого вы сможете встроить онлайн-каталоги на ваш сайт или пользоваться ими из личного кабинета нашего сайта. Обращаем ваше внимание на то, что каталоги содержат информацию об оригинальных заводских номерах и названиях запчастей. База по аналогам в данный момент не реализована. Поиска по VIN-номерам в онлайн-каталоге не предусмотрено. Выбор конкретного каталога осуществляется путем открытия нужного типа техники, марки, модели с учетом года выпуска или модификации.