Каталог запасных частей к технике: Mazda 6 Sport 1.8 Comfort (2012). Кузов 13

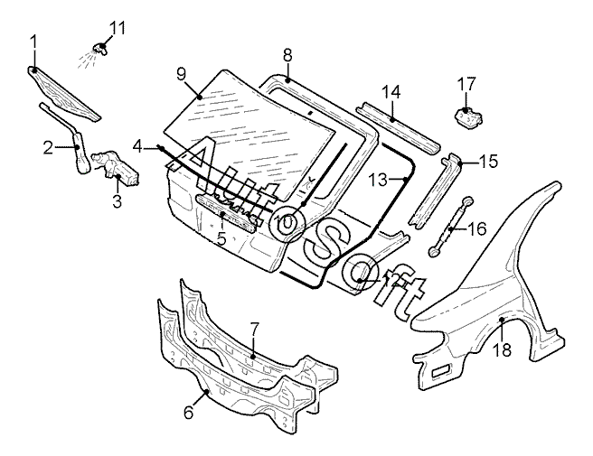
11
12
18
18
17
17
16
16
15
15
14
13
1
10
10
9
8
7
6
5
4
3
2
Позиция на иллюстрации | Заводской номер детали | Название детали | |
---|---|---|---|
1 | W***0 | Щетка стеклоочистителя задка | |
2 | G***A | Рычаг задн. стеклоочистителя | |
3 | G***A | Двигатель задн. стеклоочистителя | |
4 | G***C | Уплотнитель нижн. | |
5 | G***D | Фонарь сигнала торможения | |
6 | G***C | Панель задка | |
7 | G***D | Панель задка в сборе | |
8 | G***B | Дверь задка | |
9 | G***D | Стекло задка обогрев. тонир. | |
10 | G***D | Уплотнитель задн. прав. | |
10 | G***D | Уплотнитель задн. лев. | |
11 | G***0 | Форсунка омывателя задн. | |
12 | G***2 | Облицовка двери задка нижн. | |
13 | G***B | Уплотнитель двери задка | |
14 | G***7 | Облицовка двери задка верхн. | |
15 | G***7 | Облицовка двери задка прав. | |
15 | G***7 | Облицовка двери задка лев. | |
16 | G***G | Амортизатор задн. прав. | |
16 | G***G | Амортизатор задн. лев. | |
17 | G***D | Петля двери задка прав. | |
17 | G***D | Петля двери задка лев. | |
18 | G***0 | Боковина прав. задн. часть | |
18 | G***0 | Боковина лев. задн. часть |
Содержащиеся в справочниках-каталогах запасные части и детали не предлагаются к продаже, а носят исключительно информационный характер. В демо-версии артикулы (номера деталей) скрыты. Если вы хотите видеть полные оригинальные номера запчастей, вам необходимо зарегистрироваться на нашем сайте и приобрести подписку по интересующей вас конфигурации, после этого вы сможете встроить онлайн-каталоги на ваш сайт или пользоваться ими из личного кабинета нашего сайта. Обращаем ваше внимание на то, что каталоги содержат информацию об оригинальных заводских номерах и названиях запчастей. База по аналогам в данный момент не реализована. Поиска по VIN-номерам в онлайн-каталоге не предусмотрено. Выбор конкретного каталога осуществляется путем открытия нужного типа техники, марки, модели с учетом года выпуска или модификации.