Каталог запасных частей к технике: Mazda 6 2.5 Dynamic (2012). Кузов 15

1
1
2
2
3
5
5
6
8
9
9
10
12
11
4
7
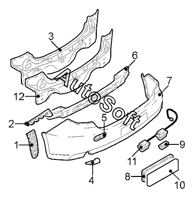
Позиция на иллюстрации | Заводской номер детали | Название детали | |
---|---|---|---|
1 | G***E | Кожух защитный диска задн. тормоза прав. | |
1 | G***C | Кожух защитный диска задн. тормоза лев. | |
2 | G***C | Кронштейн бампера прав. наружн. | |
2 | G***C | Кронштейн бампера лев. наружн. | |
3 | G***A | Панель задка в сборе | |
4 | G***A | Облицовка задн. бампера лев. | |
5 | B***C | Отражатель на задн. бампере лев. | |
5 | B***C | Отражатель на задн. бампере прав. | |
6 | G***A | Усилитель задн. бампера | |
7 | G***N | Бампер задн. | |
8 | -***- | Усилитель задн. номерного знака | |
9 | G***A | Стекло фонаря освещения номерного знака прав. | |
9 | G***A | Стекло фонаря освещения номерного знака лев. | |
10 | -***- | Знак номерной задн. | |
11 | G***E | Фонари освещения номерного знака лев./прав. | |
12 | G***1 | Панель задка |
Содержащиеся в справочниках-каталогах запасные части и детали не предлагаются к продаже, а носят исключительно информационный характер. В демо-версии артикулы (номера деталей) скрыты. Если вы хотите видеть полные оригинальные номера запчастей, вам необходимо зарегистрироваться на нашем сайте и приобрести подписку по интересующей вас конфигурации, после этого вы сможете встроить онлайн-каталоги на ваш сайт или пользоваться ими из личного кабинета нашего сайта. Обращаем ваше внимание на то, что каталоги содержат информацию об оригинальных заводских номерах и названиях запчастей. База по аналогам в данный момент не реализована. Поиска по VIN-номерам в онлайн-каталоге не предусмотрено. Выбор конкретного каталога осуществляется путем открытия нужного типа техники, марки, модели с учетом года выпуска или модификации.