Каталог запасных частей к технике: Mazda 6 Sport 1.8 Comfort (2012). Кузов 13

9
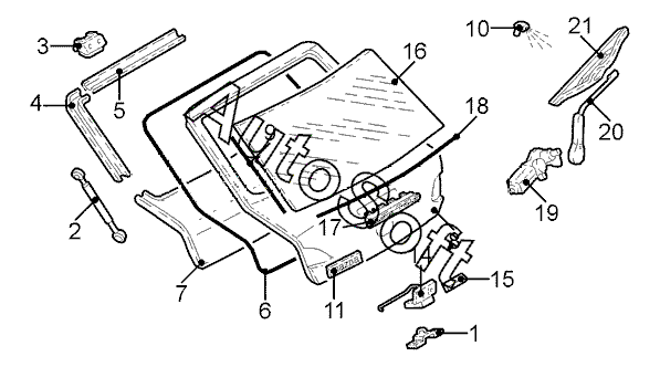
21
20
19
18
17
16
15
14
11
11
11
10
1
9
8
7
6
5
4
4
3
3
2
2
Позиция на иллюстрации | Заводской номер детали | Название детали | |
---|---|---|---|
1 | G***B | Пластина/плата замка | |
2 | G***D | Амортизатор задн. прав. | |
2 | G***D | Амортизатор задн. лев. | |
3 | G***A | Петля двери задка прав. | |
3 | G***A | Петля двери задка лев. | |
4 | G***2 | Облицовка двери задка прав. | |
4 | G***2 | Облицовка двери задка лев. | |
5 | G***2 | Облицовка двери задка верхн. | |
6 | G***D | Уплотнитель двери задка | |
7 | G***2 | Облицовка двери задка нижн. | |
8 | G***C | Дверь задка | |
9 | G***2 | Уплотнитель задн. прав. | |
9 | G***3 | Уплотнитель задн. лев. | |
10 | G***0 | Форсунка омывателя задн. | |
11 | G***0 | Эмблема изготовителя | |
11 | G***1 | Эмблема модели | |
11 | G***0 | Эмблема на двери задка | |
14 | G***C | Замок двери задка | |
15 | G***A | Ручка двери задка | |
16 | G***D | Стекло задка | |
17 | G***G | Фонарь сигнала торможения | |
18 | G***4 | Уплотнитель нижн. | |
19 | G***0 | Двигатель задн. стеклоочистителя | |
20 | G***1 | Рычаг задн. стеклоочистителя | |
21 | G***0 | Щетка стеклоочистителя задка |
Содержащиеся в справочниках-каталогах запасные части и детали не предлагаются к продаже, а носят исключительно информационный характер. В демо-версии артикулы (номера деталей) скрыты. Если вы хотите видеть полные оригинальные номера запчастей, вам необходимо зарегистрироваться на нашем сайте и приобрести подписку по интересующей вас конфигурации, после этого вы сможете встроить онлайн-каталоги на ваш сайт или пользоваться ими из личного кабинета нашего сайта. Обращаем ваше внимание на то, что каталоги содержат информацию об оригинальных заводских номерах и названиях запчастей. База по аналогам в данный момент не реализована. Поиска по VIN-номерам в онлайн-каталоге не предусмотрено. Выбор конкретного каталога осуществляется путем открытия нужного типа техники, марки, модели с учетом года выпуска или модификации.