Каталог запасных частей к технике: Mazda 6 Sport Combi 2.0 Exclusive (2012). Кузов 11

10
5
2
16
15
14
12
12
12
11
1
9
8
7
6
6
4
3
1
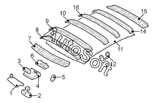
Позиция на иллюстрации | Заводской номер детали | Название детали | |
---|---|---|---|
1 | G***5 | Козырек солнцезащитный прав. | |
1 | G***5 | Козырек солнцезащитный лев. | |
2 | C***E | Зеркало внутр. | |
3 | G***0 | Указатель AirBag внутр. | |
4 | G***5 | Накладка указателя | |
5 | B***A | Датчик дождя | |
6 | G***5 | Светильник салона в каркасе крыши передн. | |
6 | L***5 | Освещение на раме крыше задн. внутр. | |
7 | G***0 | Поперечина крыши передн. | |
8 | G***1 | Усилитель поперечины крыши передн. | |
9 | G***2 | Поперечина крыши средн. передн. часть. | |
10 | G***Y | Поперечина крыши средн. | |
11 | G***5 | Облицовка крыши | |
12 | G***5 | Ручка крыши передн. прав. | |
12 | G***5 | Ручка крыши задн. прав. | |
12 | G***5 | Ручка крыши задн. лев. | |
14 | G***X | Усилитель балки крыши задн. | |
15 | G***0 | Поперечина крыши задн. | |
16 | G***4 | Поперечина крыши задн. средн. |
Содержащиеся в справочниках-каталогах запасные части и детали не предлагаются к продаже, а носят исключительно информационный характер. В демо-версии артикулы (номера деталей) скрыты. Если вы хотите видеть полные оригинальные номера запчастей, вам необходимо зарегистрироваться на нашем сайте и приобрести подписку по интересующей вас конфигурации, после этого вы сможете встроить онлайн-каталоги на ваш сайт или пользоваться ими из личного кабинета нашего сайта. Обращаем ваше внимание на то, что каталоги содержат информацию об оригинальных заводских номерах и названиях запчастей. База по аналогам в данный момент не реализована. Поиска по VIN-номерам в онлайн-каталоге не предусмотрено. Выбор конкретного каталога осуществляется путем открытия нужного типа техники, марки, модели с учетом года выпуска или модификации.