Каталог запасных частей к технике: Mazda Xedos 6 2.0i V6 Business (2012). Двери 1

17
12
12
14
14
15
15
16
16
11
17
7
7
9
9
13
13
4
1
2
2
3
3
4
4
4
1
6
6
8
8
10
10
11
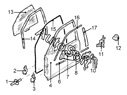
Позиция на иллюстрации | Заводской номер детали | Название детали | |
---|---|---|---|
1 | C***E | Ограничитель двери прав. | |
1 | C***E | Ограничитель двери лев. | |
2 | B***0 | Петля передн. прав. двери верхн. | |
2 | B***0 | Петля передн. лев. двери верхн. | |
3 | B***0 | Петля передн. прав. двери нижн. | |
3 | B***0 | Петля передн. лев. двери нижн. | |
4 | C***D | Панель передн. прав. двери наружн. | |
4 | C***D | Панель передн. лев. двери наружн. | |
4 | C***A | Дверь передн. прав. | |
4 | C***A | Дверь передн. лев. | |
6 | C***B | Накладка декоративная шахты передн. прав. стекла | |
6 | C***B | Накладка декоративная шахты передн. лев. стекла | |
7 | C***Z | Зеркало прав. наружн. электр. | |
7 | C***Z | Зеркало лев. наружн. электр. | |
8 | C***3 | Стекло зеркала прав. | |
8 | C***3 | Стекло лев. зеркала | |
9 | C***5 | Ручка передн. двери лев. наружн. | |
9 | H***5 | Ручка передн. двери прав. наружн. | |
10 | C***F | Цилиндр замка двери прав. | |
10 | C***F | Цилиндр замка двери лев. | |
11 | C***F | Замок передн. прав. двери | |
11 | C***F | Замок передн. лев. двери | |
12 | G***B | Защелка замка передн. прав. | |
12 | G***B | Защелка замка передн. лев. | |
13 | C***D | Стекло передн. прав. двери тонир. | |
13 | C***D | Стекло передн. лев. двери тонир. | |
14 | C***G | Направляющая стекла прав. | |
14 | C***G | Направляющая стекла лев. | |
15 | C***G | Уплотнитель передн. прав. двери | |
15 | C***G | Уплотнитель передн. лев. двери | |
16 | C***D | Накладка декоративная передн. прав. двери верхн. | |
16 | C***D | Накладка декоративная передн. лев. двери верхн. | |
17 | C***E | Накладка декоративная передн. прав. двери задн. | |
17 | C***E | Накладка декоративная передн. лев. двери задн. |
Содержащиеся в справочниках-каталогах запасные части и детали не предлагаются к продаже, а носят исключительно информационный характер. В демо-версии артикулы (номера деталей) скрыты. Если вы хотите видеть полные оригинальные номера запчастей, вам необходимо зарегистрироваться на нашем сайте и приобрести подписку по интересующей вас конфигурации, после этого вы сможете встроить онлайн-каталоги на ваш сайт или пользоваться ими из личного кабинета нашего сайта. Обращаем ваше внимание на то, что каталоги содержат информацию об оригинальных заводских номерах и названиях запчастей. База по аналогам в данный момент не реализована. Поиска по VIN-номерам в онлайн-каталоге не предусмотрено. Выбор конкретного каталога осуществляется путем открытия нужного типа техники, марки, модели с учетом года выпуска или модификации.