Каталог запасных частей к технике: Mazda Xedos 9 2.5i V6 Business (2012). Кузов 2

24
15
15
16
16
17
18
19
20
20
21
23
14
24
25
25
26
26
27
27
28
28
29
29
7
1
2
2
3
3
4
4
5
5
6
6
1
7
8
9
10
11
11
12
12
13
14
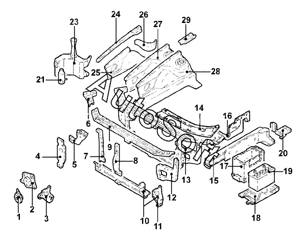
Позиция на иллюстрации | Заводской номер детали | Название детали | |
---|---|---|---|
1 | T***0 | Сигнал звукововой лев. | |
1 | T***0 | Сигнал звуковой прав. | |
2 | T***Y | Кронштейн звукового сигнала прав. | |
2 | T***B | Кронштейн звукового сигнала лев. | |
3 | T***X | Проушина буксирная передн. прав. | |
3 | T***X | Проушина буксирная передн. лев. | |
4 | T***A | Усилитель панели облицовки передка прав. | |
4 | T***B | Усилитель панели облицовки передка лев. | |
5 | T***C | Усилитель двери прав. внутр. | |
5 | T***D | Усилитель лев. внутр. | |
6 | T***A | Кронштейн прав. наружн. | |
6 | T***A | Кронштейн лев. наружн. | |
7 | T***0 | Распорка панели облицовки передка прав. | |
7 | T***0 | Распорка панели облицовки передка лев. | |
8 | T***C | Распорка панели облицовки передка средн. | |
9 | T***A | Кронштейн | |
10 | T***D | Поперечина передн. | |
11 | T***Z | Усилитель поперечины прав. | |
11 | T***Z | Усилитель поперечины лев. | |
12 | T***A | Опора прав. фары | |
12 | T***A | Кронштейн лев. фары | |
13 | T***J | Панель облицовки передка в сборе | |
14 | T***D | Облицовка кронштейна прав. | |
14 | T***D | Облицовка кронштейна лев. | |
15 | T***X | Лонжерон передн. прав. в сборе | |
15 | T***A | Лонжерон передн. лев. в сборе | |
16 | T***C | Щиток защитный двигателя прав. | |
16 | T***C | Щиток защитный двигателя лев. часть | |
17 | K***A | Ящик аккумуляторной батареи | |
18 | T***0 | Кронштейн аккумуляторной батареи | |
19 | F***C | Батарея аккумуляторная | |
20 | T***A | Усилитель передн. прав. лонжерона задн. | |
20 | T***Y | Усилитель передн. лев. лонжерона задн. | |
21 | D***2 | Насос омывателя | |
23 | T***B | Бачок омывателя в сборе | |
24 | T***0 | Усилитель арки передн. прав. колеса | |
24 | T***X | Усилитель арки передн. лев. колеса | |
25 | T***C | Арка колеса лев. передн. часть | |
25 | T***C | Арка колеса прав. передн. часть | |
26 | T***1 | Усилитель арки колеса прав. | |
26 | T***A | Усилитель арки колеса лев. | |
27 | T***Y | Арка передн. колеса прав. | |
27 | T***Y | Арка передн. колеса лев. | |
28 | T***A | Арка передн. колеса прав. в сборе | |
28 | T***A | Арка передн. колеса лев. в сборе | |
29 | T***A | Усилитель прав. | |
29 | T***A | Усилитель лев. |
Содержащиеся в справочниках-каталогах запасные части и детали не предлагаются к продаже, а носят исключительно информационный характер. В демо-версии артикулы (номера деталей) скрыты. Если вы хотите видеть полные оригинальные номера запчастей, вам необходимо зарегистрироваться на нашем сайте и приобрести подписку по интересующей вас конфигурации, после этого вы сможете встроить онлайн-каталоги на ваш сайт или пользоваться ими из личного кабинета нашего сайта. Обращаем ваше внимание на то, что каталоги содержат информацию об оригинальных заводских номерах и названиях запчастей. База по аналогам в данный момент не реализована. Поиска по VIN-номерам в онлайн-каталоге не предусмотрено. Выбор конкретного каталога осуществляется путем открытия нужного типа техники, марки, модели с учетом года выпуска или модификации.