Каталог запасных частей к технике: Mazda MX-3 V6 24V (2012). Двери 1

23
15
16
17
17
18
18
19
19
20
21
21
22
22
23
15
24
24
25
25
26
26
27
27
28
29
29
30
30
8
1
2
2
3
3
4
4
5
5
6
6
7
7
1
8
9
9
10
10
10
10
12
12
13
13
14
14
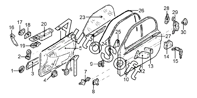
Позиция на иллюстрации | Заводской номер детали | Название детали | |
---|---|---|---|
1 | E***2 | Крышка прав. динамика | |
1 | E***2 | Крышка лев. динамика | |
2 | S***0 | Ручка стеклоподъемника прав. | |
2 | S***0 | Ручка стеклоподъемника лев. | |
3 | E***2 | Отделение для вещей прав. двери | |
3 | E***2 | Отделение для вещей лев. двери | |
4 | B***0 | Динамик прав. двери | |
4 | B***0 | Динамик лев. двери | |
5 | E***2 | Облицовка прав. двери | |
5 | E***2 | Облицовка лев. двери | |
6 | E***A | Стеклоподъемник прав. | |
6 | E***A | Стеклоподъемник лев. | |
7 | E***B | Ограничитель двери прав. | |
7 | E***B | Ограничитель двери лев. | |
8 | E***C | Петля прав. двери нижн. | |
8 | E***C | Петля двери лев. нижн. | |
9 | H***A | Петля двери прав. верхн. | |
9 | H***A | Петля двери лев. верхн. | |
10 | E***D | Панель двери прав. наружн. | |
10 | E***D | Панель двери лев. наружн. | |
10 | E***A | Дверь прав. | |
10 | E***A | Дверь лев. | |
12 | E***Z | Зеркало прав. наружн. электр. | |
12 | E***Z | Зеркало лев. наружн. электр. | |
13 | E***3 | Стекло зеркала прав. | |
13 | E***3 | Стекло лев. зеркала | |
14 | E***Z | Ручка двери лев. наружн. | |
14 | G***Z | Ручка двери прав. наружн. | |
15 | E***J | Цилиндр замка двери прав. | |
15 | E***J | Цилиндр замка двери лев. | |
16 | E***0 | Ручка прав. | |
17 | E***2 | Розетка ручки двери прав. | |
17 | E***2 | Розетка ручки двери лев. | |
18 | E***2 | Контакт размыкающий двери прав. внутр. | |
18 | E***2 | Контакт размыкающий двери лев. внутр. | |
19 | E***0 | Переключатель передн. прав. | |
19 | E***0 | Переключатель передн. лев. | |
20 | E***0 | Кронштейн лев. переключателя | |
21 | E***1 | Накладка декоративная шахты стекла прав. внутр. | |
21 | E***1 | Накладка декоративная шахты стекла лев. внутр. | |
22 | E***2 | Кронштейн стекла двери прав. | |
22 | E***2 | Кронштейн стекла двери лев. | |
23 | E***D | Стекло двери прав. | |
23 | E***D | Стекло двери лев. | |
24 | E***A | Направляющая стекла прав. | |
24 | E***A | Направляющая стекла лев. | |
25 | E***A | Накладка зеркала задн. вида прав. внутр. | |
25 | E***A | Накладка лев. внутр. зеркала | |
26 | E***2 | Уплотнитель рамы прав. двери | |
26 | E***2 | Уплотнитель рамы лев. двери | |
27 | E***C | Накладка декоративная шахты стекла прав. наружн. | |
27 | E***C | Накладка декоративная шахты стекла лев. наружн. | |
28 | E***A | Двигатель центрального замка прав. | |
29 | E***C | Замок передн. прав. двери | |
29 | E***D | Замок передн. лев. двери | |
30 | B***A | Защелка замка передн. прав. | |
30 | B***A | Защелка замка передн. лев. |
Содержащиеся в справочниках-каталогах запасные части и детали не предлагаются к продаже, а носят исключительно информационный характер. В демо-версии артикулы (номера деталей) скрыты. Если вы хотите видеть полные оригинальные номера запчастей, вам необходимо зарегистрироваться на нашем сайте и приобрести подписку по интересующей вас конфигурации, после этого вы сможете встроить онлайн-каталоги на ваш сайт или пользоваться ими из личного кабинета нашего сайта. Обращаем ваше внимание на то, что каталоги содержат информацию об оригинальных заводских номерах и названиях запчастей. База по аналогам в данный момент не реализована. Поиска по VIN-номерам в онлайн-каталоге не предусмотрено. Выбор конкретного каталога осуществляется путем открытия нужного типа техники, марки, модели с учетом года выпуска или модификации.