Каталог запасных частей к технике: Mazda MX-5 2.0 MZR Emotion (2012). Кузов 7

1
2
2
3
4
4
5
6
7
9
10
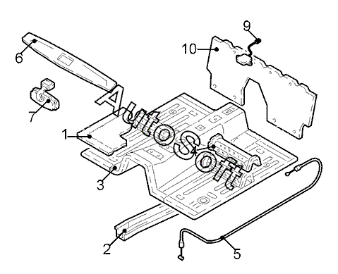
Позиция на иллюстрации | Заводской номер детали | Название детали | |
---|---|---|---|
1 | N***2 | Облицовка основания передн. | |
2 | N***E | Лонжерон пола передн. прав. | |
2 | N***E | Лонжерон пола передн. лев. | |
3 | N***N | Основание передн. в сборе | |
4 | N***B | Поперечина сиденья прав. | |
4 | N***B | Поперечина сиденья лев. | |
5 | N***0 | Тяга привода крышки люка наливной горловины | |
6 | N***2 | Облицовка каркаса крыши передн. | |
7 | L***C | Зеркало внутр. | |
9 | N***B | Антенна средн. внутр. | |
10 | N***2 | Облицовка задка |
Содержащиеся в справочниках-каталогах запасные части и детали не предлагаются к продаже, а носят исключительно информационный характер. В демо-версии артикулы (номера деталей) скрыты. Если вы хотите видеть полные оригинальные номера запчастей, вам необходимо зарегистрироваться на нашем сайте и приобрести подписку по интересующей вас конфигурации, после этого вы сможете встроить онлайн-каталоги на ваш сайт или пользоваться ими из личного кабинета нашего сайта. Обращаем ваше внимание на то, что каталоги содержат информацию об оригинальных заводских номерах и названиях запчастей. База по аналогам в данный момент не реализована. Поиска по VIN-номерам в онлайн-каталоге не предусмотрено. Выбор конкретного каталога осуществляется путем открытия нужного типа техники, марки, модели с учетом года выпуска или модификации.