Каталог запасных частей к технике: Mazda Demio 1.5 Sportive (2012). Передняя часть кузова: капот, лобовое стекло

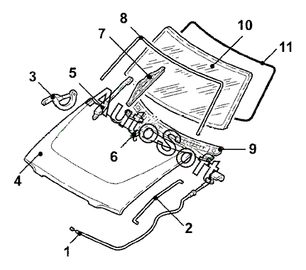
2
3
3
5
5
7
7
8
9
10
11
1
4
6
6
Позиция на иллюстрации | Заводской номер детали | Название детали | |
---|---|---|---|
1 | D***0 | Тяга привода замка капота | |
2 | D***A | Опора капота | |
3 | D***A | Петля капота прав. | |
3 | D***A | Петля капота лев. | |
4 | D***A | Капот | |
5 | D***A | Рычаг стеклоочистителя лев. | |
5 | D***A | Рычаг стеклоочистителя прав. | |
6 | D***0 | Форсунка омывателя прав. | |
6 | D***0 | Форсунка омывателя лев. | |
7 | 8***A | Щетка стеклоочистителя прав. | |
7 | 8***A | Щетка стеклоочистителя лев. | |
8 | D***A | Рамка облицовочная лобового стекла | |
9 | D***0 | Накладка обтекателя | |
10 | D***A | Стекло лобовое трехслойное | |
11 | G***9 | Уплотнитель лобового стекла |
Содержащиеся в справочниках-каталогах запасные части и детали не предлагаются к продаже, а носят исключительно информационный характер. В демо-версии артикулы (номера деталей) скрыты. Если вы хотите видеть полные оригинальные номера запчастей, вам необходимо зарегистрироваться на нашем сайте и приобрести подписку по интересующей вас конфигурации, после этого вы сможете встроить онлайн-каталоги на ваш сайт или пользоваться ими из личного кабинета нашего сайта. Обращаем ваше внимание на то, что каталоги содержат информацию об оригинальных заводских номерах и названиях запчастей. База по аналогам в данный момент не реализована. Поиска по VIN-номерам в онлайн-каталоге не предусмотрено. Выбор конкретного каталога осуществляется путем открытия нужного типа техники, марки, модели с учетом года выпуска или модификации.