Каталог запасных частей к технике: Mazda B 2500 XL-Toplands 4x4 (2012). Обивка передней двери

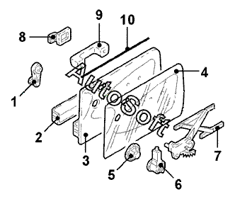
10
7
7
6
6
5
5
4
4
10
1
9
9
8
8
3
3
2
2
1
Позиция на иллюстрации | Заводской номер детали | Название детали | |
---|---|---|---|
1 | U***1 | Ручка стеклоподъемника прав. | |
1 | U***1 | Ручка стеклоподъемника лев. | |
2 | U***1 | Отделение для вещей облицовки прав. двери | |
2 | U***1 | Отделение для вещей облицовки лев. двери | |
3 | U***1 | Облицовка прав. двери | |
3 | U***1 | Облицовка лев. двери | |
4 | U***A | Шумоизоляция передн. прав. двери | |
4 | U***A | Шумоизоляция передн. лев. двери | |
5 | U***Y | Динамик передн. прав. двери | |
5 | U***Y | Динамик передн. лев. двери | |
6 | U***X | Двигатель прав. стеклоподъемника | |
6 | U***X | Двигатель лев. стеклоподъемника | |
7 | U***0 | Стеклоподъемник прав. | |
7 | U***0 | Стеклоподъемник лев. | |
8 | U***9 | Ручка передн. двери прав. внутр. | |
8 | U***9 | Ручка передн. двери лев. внутр. | |
9 | U***1 | Подлокотник передн. прав. двери | |
9 | U***1 | Подлокотник передн. лев. двери | |
10 | U***1 | Уплотнитель шахты стекла прав. внутр. | |
10 | U***1 | Уплотнитель шахты стекла лев. внутр. |
Содержащиеся в справочниках-каталогах запасные части и детали не предлагаются к продаже, а носят исключительно информационный характер. В демо-версии артикулы (номера деталей) скрыты. Если вы хотите видеть полные оригинальные номера запчастей, вам необходимо зарегистрироваться на нашем сайте и приобрести подписку по интересующей вас конфигурации, после этого вы сможете встроить онлайн-каталоги на ваш сайт или пользоваться ими из личного кабинета нашего сайта. Обращаем ваше внимание на то, что каталоги содержат информацию об оригинальных заводских номерах и названиях запчастей. База по аналогам в данный момент не реализована. Поиска по VIN-номерам в онлайн-каталоге не предусмотрено. Выбор конкретного каталога осуществляется путем открытия нужного типа техники, марки, модели с учетом года выпуска или модификации.