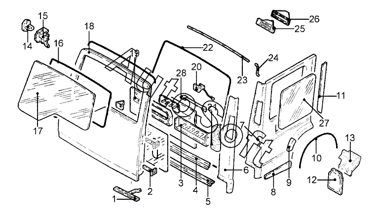
Каталог запасных частей к технике: LandRover Discovery V8I (2014). Дверь задка/Боковина задняя

21
13
13
14
15
16
17
18
19
20
21
12
22
23
24
24
25
26
27
27
28
7
2
2
3
3
4
5
6
6
7
1
8
8
9
9
10
10
11
11
12
Позиция на иллюстрации | Заводской номер детали | Название детали | |
---|---|---|---|
1 | A***0 | Ограничитель двери задка | |
2 | B***2 | Петля двери задка верхн. | |
2 | B***1 | Петля двери задка нижн. | |
3 | E***W | Карман на внутр. панели задн.лев. двери | |
3 | E***W | Карман на внутр. панели задн.прав. двери | |
4 | E***B | Накладка порога задн. | |
5 | E***B | Накладка подножки | |
6 | A***0 | Накладка угловая боковины задн. прав. | |
6 | A***1 | Накладка угловая боковины задн. лев. | |
7 | A***4 | Боковина прав. задн. часть | |
7 | A***5 | Боковина лев. задн. часть | |
8 | D***0 | Накладка боковины прав. нижн. | |
8 | D***0 | Накладка боковины лев. нижн. | |
9 | D***A | Накладка арки колеса передн. прав. | |
9 | D***A | Накладка арки колеса передн. лев. | |
10 | D***0 | Уплотнитель арки задн. прав. колеса | |
10 | D***0 | Уплотнитель арки задн. лев. колеса | |
11 | D***1 | Облицовка задн. прав. стойки | |
11 | D***1 | Облицовка задн. лев. стойки | |
12 | C***0 | Брызговик задн. прав. | |
12 | C***0 | Брызговик задн. лев. | |
13 | C***0 | Кронштейн задн. прав. брызговика | |
13 | C***0 | Кронштейн задн. лев. брызговика | |
14 | F***0 | Цапфа замка задн. | |
15 | F***0 | Замок двери задка | |
16 | C***0 | Уплотнитель задн. стекла | |
17 | C***0 | Стекло задка | |
18 | B***2 | Дверь задка | |
19 | E***W | Облицовка двери задка | |
20 | A***6 | Ручка двери задка внутр. | |
21 | X***0 | Фонарь задн. прав. | |
21 | X***0 | Фонарь задн. лев. | |
22 | C***0 | Уплотнитель двери задка | |
23 | A***8 | Накладка декоративная водосточного желоба задн. | |
24 | D***0 | Накладка декоративная водост. желоба задн. прав. | |
24 | D***0 | Накладка декоративная водост. желоба задн. лев. | |
25 | X***0 | Фонарь сигнала торможения дополнительный | |
26 | X***0 | Корпус дополнительного фонаря сигнала торможения | |
27 | C***0 | Стекло боковины прав. | |
27 | C***0 | Стекло боковины лев. | |
28 | E***W | Ручка двери задка внутр. |
Содержащиеся в справочниках-каталогах запасные части и детали не предлагаются к продаже, а носят исключительно информационный характер. В демо-версии артикулы (номера деталей) скрыты. Если вы хотите видеть полные оригинальные номера запчастей, вам необходимо зарегистрироваться на нашем сайте и приобрести подписку по интересующей вас конфигурации, после этого вы сможете встроить онлайн-каталоги на ваш сайт или пользоваться ими из личного кабинета нашего сайта. Обращаем ваше внимание на то, что каталоги содержат информацию об оригинальных заводских номерах и названиях запчастей. База по аналогам в данный момент не реализована. Поиска по VIN-номерам в онлайн-каталоге не предусмотрено. Выбор конкретного каталога осуществляется путем открытия нужного типа техники, марки, модели с учетом года выпуска или модификации.