Каталог запасных частей к технике: Hyundai i10 1.1 Classic (2012). Двери 2

4
4
5
5
5
5
8
8
1
1
3
3
7
7
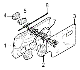
Позиция на иллюстрации | Заводской номер детали | Название детали | |
---|---|---|---|
1 | 8***Z | Облицовка передн. лев. двери | |
1 | 8***Z | Облицовка передн. прав. двери | |
3 | 8***0 | Наклейка передн. лев. двери внутр. | |
3 | 8***0 | Наклейка передн. прав. двери внутр. | |
4 | 8***X | Розетка передн. лев. внутр. ручки | |
4 | 8***X | Розетка передн. прав. внутр. ручки | |
5 | 8***X | Ручка передн. двери лев. внутр. | |
5 | 8***4 | Ручка передн. двери лев. внутр. | |
5 | 8***X | Ручка передн. двери прав. внутр. | |
5 | 8***4 | Ручка передн. двери прав. внутр. | |
7 | 8***0 | Стеклоподъемник передн. лев. | |
7 | 8***0 | Стеклоподъемник передн. прав. | |
8 | 8***0 | Накладка шахты передн. лев. стекла внутр. | |
8 | 8***0 | Накладка шахты передн. прав. стекла внутр. |
Содержащиеся в справочниках-каталогах запасные части и детали не предлагаются к продаже, а носят исключительно информационный характер. В демо-версии артикулы (номера деталей) скрыты. Если вы хотите видеть полные оригинальные номера запчастей, вам необходимо зарегистрироваться на нашем сайте и приобрести подписку по интересующей вас конфигурации, после этого вы сможете встроить онлайн-каталоги на ваш сайт или пользоваться ими из личного кабинета нашего сайта. Обращаем ваше внимание на то, что каталоги содержат информацию об оригинальных заводских номерах и названиях запчастей. База по аналогам в данный момент не реализована. Поиска по VIN-номерам в онлайн-каталоге не предусмотрено. Выбор конкретного каталога осуществляется путем открытия нужного типа техники, марки, модели с учетом года выпуска или модификации.