Каталог запасных частей к технике: Hyundai Elantra 2.0I GLS (2012). Кузов 16

7
9
8
13
13
12
11
10
9
1
7
6
6
5
4
3
2
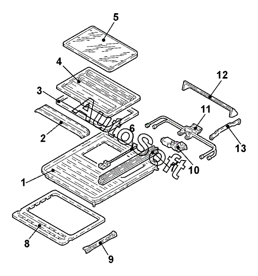
Позиция на иллюстрации | Заводской номер детали | Название детали | |
---|---|---|---|
1 | 8***0 | Рама крышки сдвижного люка | |
2 | 8***0 | Планка водостока | |
3 | 8***0 | Уплотнитель выреза для люка крыши | |
4 | 8***I | Козырек солнцезащитный | |
5 | 8***0 | Стекло сдвижного люка крыши | |
6 | 8***0 | Ползун сдвижной крыши лев. | |
6 | 8***0 | Ползун сдвижной крыши прав. | |
7 | 8***0 | Направляющая лев. | |
7 | 8***0 | Направляющая прав. | |
8 | 6***0 | Усилитель сдвижного люка | |
9 | 6***0 | Усилитель рамы крыши лев. внутр. | |
9 | 6***0 | Усилитель рамы крыши прав. внутр. | |
10 | 8***0 | Двигатель крышки сдвижного люка | |
11 | 8***0 | Труба направляющая в сборе | |
12 | 8***0 | Обтекатель люка крыши | |
13 | 8***0 | Кронштейн обтекателя лев. | |
13 | 8***0 | Кронштейн обтекателя прав. |
Содержащиеся в справочниках-каталогах запасные части и детали не предлагаются к продаже, а носят исключительно информационный характер. В демо-версии артикулы (номера деталей) скрыты. Если вы хотите видеть полные оригинальные номера запчастей, вам необходимо зарегистрироваться на нашем сайте и приобрести подписку по интересующей вас конфигурации, после этого вы сможете встроить онлайн-каталоги на ваш сайт или пользоваться ими из личного кабинета нашего сайта. Обращаем ваше внимание на то, что каталоги содержат информацию об оригинальных заводских номерах и названиях запчастей. База по аналогам в данный момент не реализована. Поиска по VIN-номерам в онлайн-каталоге не предусмотрено. Выбор конкретного каталога осуществляется путем открытия нужного типа техники, марки, модели с учетом года выпуска или модификации.