Каталог запасных частей к технике: Suzuki Jimny 1.5 DDiS Comfort 4x4 (2012). Двигатель/ Система охлаждения 4

8
16
15
14
13
12
11
10
9
1
7
6
5
4
3
2
2
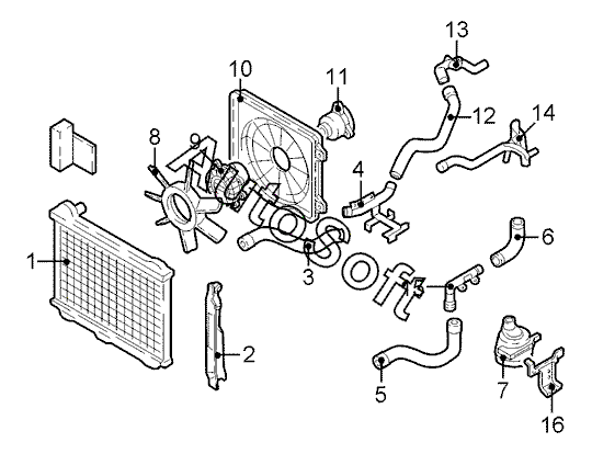
Позиция на иллюстрации | Заводской номер детали | Название детали | |
---|---|---|---|
1 | 1***0 | Радиатор | |
2 | 1***0 | Кронштейн радиатора прав. | |
2 | 1***0 | Кронштейн радиатора лев. | |
3 | 1***1 | Шланг радиатора верхн. | |
4 | 3***0 | Кронштейн блока управления | |
5 | 1***0 | Шланг радиатора нижн. | |
6 | 1***0 | Шланг водяной | |
7 | 1***0 | Бачок расширительный | |
8 | 1***0 | Крыльчатка вентилятора | |
9 | 1***0 | Муфта вентилятора | |
10 | 1***0 | Кожух вентилятора | |
11 | 1***0 | Двигатель вентилятора | |
12 | 1***0 | Шланг патрубка | |
13 | 1***2 | Патрубок выпускной водяной | |
14 | 1***1 | Труба водяная впускная | |
15 | 1***0 | Труба водяная | |
16 | 1***2 | Кронштейн бачка главного цилиндра сцепления |
Содержащиеся в справочниках-каталогах запасные части и детали не предлагаются к продаже, а носят исключительно информационный характер. В демо-версии артикулы (номера деталей) скрыты. Если вы хотите видеть полные оригинальные номера запчастей, вам необходимо зарегистрироваться на нашем сайте и приобрести подписку по интересующей вас конфигурации, после этого вы сможете встроить онлайн-каталоги на ваш сайт или пользоваться ими из личного кабинета нашего сайта. Обращаем ваше внимание на то, что каталоги содержат информацию об оригинальных заводских номерах и названиях запчастей. База по аналогам в данный момент не реализована. Поиска по VIN-номерам в онлайн-каталоге не предусмотрено. Выбор конкретного каталога осуществляется путем открытия нужного типа техники, марки, модели с учетом года выпуска или модификации.