Каталог запасных частей к технике: KIA Picanto 1.1 EX (2012). Задняя часть кузова: пол багажника, лонжероны, обивка боковины

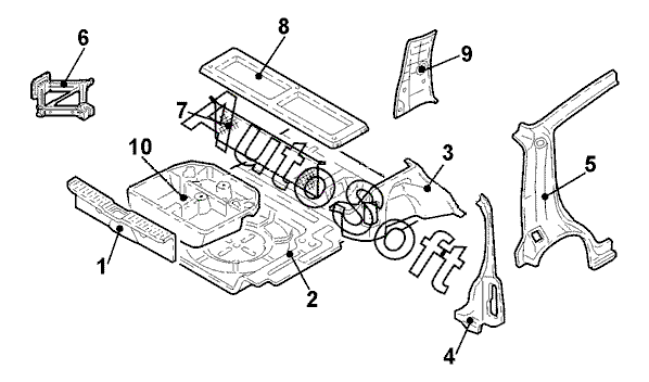
1
2
3
3
4
4
5
5
6
7
8
9
9
10
Позиция на иллюстрации | Заводской номер детали | Название детали | |
---|---|---|---|
1 | 8***L | Облицовка задн. наружн. | |
2 | 6***0 | Основание задн. | |
3 | 8***L | Облицовка арки задн. лев. колеса задн. | |
3 | 8***L | Облицовка арки задн. прав. колеса задн. | |
4 | 7***0 | Кронштейн задн. лев. фонаря | |
4 | 7***0 | Кронштейн задн. прав. фонаря | |
5 | 7***0 | Боковина лев. задн. внутр. часть | |
5 | 7***0 | Боковина прав. задн. внутр. часть | |
6 | 0***0 | Домкрат | |
7 | 8***0 | Сетка для вещей | |
8 | 8***L | Облицовка полки для вещей за задн. сиденьем | |
9 | 8***G | Облицовка задн. лев. стойки верхн. | |
9 | 8***G | Облицовка задн. прав. стойки верхн. | |
10 | 8***0 | Отделение для вещей задн. |
Содержащиеся в справочниках-каталогах запасные части и детали не предлагаются к продаже, а носят исключительно информационный характер. В демо-версии артикулы (номера деталей) скрыты. Если вы хотите видеть полные оригинальные номера запчастей, вам необходимо зарегистрироваться на нашем сайте и приобрести подписку по интересующей вас конфигурации, после этого вы сможете встроить онлайн-каталоги на ваш сайт или пользоваться ими из личного кабинета нашего сайта. Обращаем ваше внимание на то, что каталоги содержат информацию об оригинальных заводских номерах и названиях запчастей. База по аналогам в данный момент не реализована. Поиска по VIN-номерам в онлайн-каталоге не предусмотрено. Выбор конкретного каталога осуществляется путем открытия нужного типа техники, марки, модели с учетом года выпуска или модификации.