Каталог запасных частей к технике: KIA Rio 1.3 RS (2012). Кузов 9

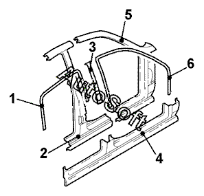
1
1
2
2
3
3
4
4
5
6
6
5
Позиция на иллюстрации | Заводской номер детали | Название детали | |
---|---|---|---|
1 | 0***A | Окантовка защитная задн. прав. | |
1 | 0***A | Окантовка защитная задн. лев. | |
2 | 0***1 | Стойка средн. прав. наружн. часть | |
2 | 0***1 | Стойка средн. лев., наружн. часть | |
3 | 0***4 | Наклейка средн. прав. стойки | |
3 | 0***4 | Наклейка средн. лев. стойки | |
4 | 0***1 | Порог двери прав. наружн. | |
4 | 0***1 | Порог двери лев. наружн. | |
5 | 0***A | Стойка передн. прав. наружн. часть | |
5 | 0***A | Стойка передн. лев. наружн. часть | |
6 | 0***B | Окантовка защитная передн. прав. | |
6 | 0***B | Окантовка защитная передн. лев. |
Содержащиеся в справочниках-каталогах запасные части и детали не предлагаются к продаже, а носят исключительно информационный характер. В демо-версии артикулы (номера деталей) скрыты. Если вы хотите видеть полные оригинальные номера запчастей, вам необходимо зарегистрироваться на нашем сайте и приобрести подписку по интересующей вас конфигурации, после этого вы сможете встроить онлайн-каталоги на ваш сайт или пользоваться ими из личного кабинета нашего сайта. Обращаем ваше внимание на то, что каталоги содержат информацию об оригинальных заводских номерах и названиях запчастей. База по аналогам в данный момент не реализована. Поиска по VIN-номерам в онлайн-каталоге не предусмотрено. Выбор конкретного каталога осуществляется путем открытия нужного типа техники, марки, модели с учетом года выпуска или модификации.