Каталог запасных частей к технике: KIA Carens 1.8 EX (2012). Рейки багажные на крыше

1
1
2
2
3
3
4
4
5
5
6
6
7
7
8
8
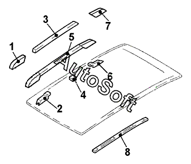
Позиция на иллюстрации | Заводской номер детали | Название детали | |
---|---|---|---|
1 | 0***3 | Крышка задн. прав. | |
1 | 0***3 | Крышка задн. лев. | |
2 | 0***3 | Опора задн.прав. | |
2 | 0***3 | Опора задн. лев. | |
3 | 0***4 | Рейка багажника на крыше прав. | |
3 | 0***4 | Рейка багажника на крыше лев. | |
4 | 0***2 | Опора прав. средн. | |
4 | 0***2 | Опора лев. средн. | |
5 | 0***0 | Рейка багажника на крыше в сборе | |
5 | 0***0 | Рейка багажника на крыше в сборе | |
6 | 0***1 | Опора передн. прав. | |
6 | 0***1 | Опора передн.лев. | |
7 | 0***1 | Крышка передн. прав. | |
7 | 0***1 | Крышка передн. лев. | |
8 | 0***X | Усилитель рейки багажника на крыше задн. прав. | |
8 | 0***X | Усилитель рейки багажника на крыше задн. лев. |
Содержащиеся в справочниках-каталогах запасные части и детали не предлагаются к продаже, а носят исключительно информационный характер. В демо-версии артикулы (номера деталей) скрыты. Если вы хотите видеть полные оригинальные номера запчастей, вам необходимо зарегистрироваться на нашем сайте и приобрести подписку по интересующей вас конфигурации, после этого вы сможете встроить онлайн-каталоги на ваш сайт или пользоваться ими из личного кабинета нашего сайта. Обращаем ваше внимание на то, что каталоги содержат информацию об оригинальных заводских номерах и названиях запчастей. База по аналогам в данный момент не реализована. Поиска по VIN-номерам в онлайн-каталоге не предусмотрено. Выбор конкретного каталога осуществляется путем открытия нужного типа техники, марки, модели с учетом года выпуска или модификации.