Каталог запасных частей к технике: KIA Carnival III 2.9 CRDi LX (2012). Кузов 1

11
3
3
15
14
14
13
13
12
1
10
9
7
7
6
5
4
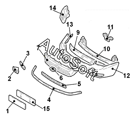
Позиция на иллюстрации | Заводской номер детали | Название детали | |
---|---|---|---|
1 | -***- | Знак номерной передн. | |
3 | 8***0 | Накладка передн. бампера лев. | |
3 | 8***0 | Накладка передн. бампера прав. | |
4 | 8***0 | Спойлер передн. бампера | |
5 | 8***0 | Решетка передн. бампера | |
6 | 8***0 | Эмблема передн. | |
7 | 8***0 | Решетка радиатора | |
7 | 8***0 | Решетка радиатора | |
9 | 8***0 | Буфер передн. бампера | |
10 | 8***0 | Балка передн. бампера | |
11 | 8***0 | Замок крышки передн. | |
12 | 8***0 | Облицовка передн. бампера | |
13 | 8***0 | Кронштейн передн. бампера лев. наружн. | |
13 | 8***0 | Кронштейн передн. бампера прав. наружн. | |
14 | 9***0 | Фара передн. лев. в сборе | |
14 | 9***0 | Фара передн. прав. в сборе | |
15 | -***- | Усилитель крепления передн. номерного знака |
Содержащиеся в справочниках-каталогах запасные части и детали не предлагаются к продаже, а носят исключительно информационный характер. В демо-версии артикулы (номера деталей) скрыты. Если вы хотите видеть полные оригинальные номера запчастей, вам необходимо зарегистрироваться на нашем сайте и приобрести подписку по интересующей вас конфигурации, после этого вы сможете встроить онлайн-каталоги на ваш сайт или пользоваться ими из личного кабинета нашего сайта. Обращаем ваше внимание на то, что каталоги содержат информацию об оригинальных заводских номерах и названиях запчастей. База по аналогам в данный момент не реализована. Поиска по VIN-номерам в онлайн-каталоге не предусмотрено. Выбор конкретного каталога осуществляется путем открытия нужного типа техники, марки, модели с учетом года выпуска или модификации.