Каталог запасных частей к технике: Rover 820 i (2012). Дверь задка и боковина задняя (вариант хэтчбек)

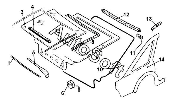
9
14
14
14
14
13
13
12
11
11
10
9
1
8
7
7
6
5
4
3
3
1
1
Позиция на иллюстрации | Заводской номер детали | Название детали | |
---|---|---|---|
1 | D***4 | Накладка декоративная стекла задка верхн. | |
1 | D***5 | Накладка декоративная стекла задка нижн. | |
1 | D***0 | Накладка декоративная стекла задка верхн. | |
3 | B***5 | К-кт герметика для стекла задка | |
3 | C***3 | Стекло задка | |
4 | G***0 | Щетка стеклоочистителя задка | |
5 | G***9 | Рычаг стеклоочистителя стекла задка | |
6 | G***3 | Двигатель очистителя стекла задка | |
7 | D***0 | Накладка декоративная стекла задка прав. | |
7 | D***1 | Накладка декоративная стекла задка лев. | |
8 | E***7 | Накладка декоративная двери задка | |
9 | B***0 | Дверь задка | |
9 | B***5 | К-кт герметика для стекла задка | |
10 | C***0 | Уплотнитель двери задка | |
11 | B***4 | Петля двери задка прав. | |
11 | B***5 | Петля двери задка лев. | |
12 | D***4 | Накладка декоративная стекла задка верхн. | |
13 | D***F | Накладка декоративная водосточн. желоба задн.прав. | |
13 | D***F | Накладка декоративная водосточн. желоба задн. лев. | |
14 | A***0 | Боковина задн. прав. | |
14 | A***0 | Боковина лев., задн. часть | |
14 | X***9 | К-кт наклеек стекла прав. боковины | |
14 | X***9 | К-кт наклеек стекла лев. боковины |
Содержащиеся в справочниках-каталогах запасные части и детали не предлагаются к продаже, а носят исключительно информационный характер. В демо-версии артикулы (номера деталей) скрыты. Если вы хотите видеть полные оригинальные номера запчастей, вам необходимо зарегистрироваться на нашем сайте и приобрести подписку по интересующей вас конфигурации, после этого вы сможете встроить онлайн-каталоги на ваш сайт или пользоваться ими из личного кабинета нашего сайта. Обращаем ваше внимание на то, что каталоги содержат информацию об оригинальных заводских номерах и названиях запчастей. База по аналогам в данный момент не реализована. Поиска по VIN-номерам в онлайн-каталоге не предусмотрено. Выбор конкретного каталога осуществляется путем открытия нужного типа техники, марки, модели с учетом года выпуска или модификации.