Каталог запасных частей к технике: Jaguar XF 3.0 V6 Diesel Grace (2014). Кузов 10
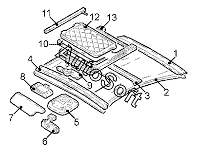
1
2
3
4
6
7
7
8
9
10
11
12
13
5
| Позиция на иллюстрации | Заводской номер детали | Название детали | |
|---|---|---|---|
| 1 | C***0 | Дуга крыши задн. | |
| 2 | C***J | Облицовка крыши | |
| 3 | X***1 | Усилитель рамы сдвижного люка | |
| 4 | C***9 | Дуга крыши передн. | |
| 5 | C***J | Консоль крыши | |
| 6 | C***5 | Зеркало внутр. | |
| 7 | C***J | Козырек солнцезащитный прав. | |
| 7 | C***J | Козырек солнцезащитный лев. | |
| 8 | C***1 | Датчик дождя | |
| 9 | C***1 | Двигатель крышки сдвижного люка | |
| 10 | C***7 | Обтекатель люка крыши | |
| 11 | C***5 | Накладка защитная крыши | |
| 12 | C***J | Облицовка крышки сдвижного люка крыши | |
| 13 | C***2 | Рама сдвижного люка крыши |
Содержащиеся в справочниках-каталогах запасные части и детали не предлагаются к продаже, а носят исключительно информационный характер. В демо-версии артикулы (номера деталей) скрыты. Если вы хотите видеть полные оригинальные номера запчастей, вам необходимо зарегистрироваться на нашем сайте и приобрести подписку по интересующей вас конфигурации, после этого вы сможете встроить онлайн-каталоги на ваш сайт или пользоваться ими из личного кабинета нашего сайта. Обращаем ваше внимание на то, что каталоги содержат информацию об оригинальных заводских номерах и названиях запчастей. База по аналогам в данный момент не реализована. Поиска по VIN-номерам в онлайн-каталоге не предусмотрено. Выбор конкретного каталога осуществляется путем открытия нужного типа техники, марки, модели с учетом года выпуска или модификации.