Каталог запасных частей к технике: Chevrolet Kalos 1.4 16V SX Automatic (2012). Кузов 20

7
12
12
11
11
10
9
8
8
7
1
6
6
5
5
4
3
2
1
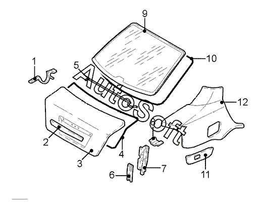
Позиция на иллюстрации | Заводской номер детали | Название детали | |
---|---|---|---|
1 | 9***1 | Петля задн. прав. | |
1 | 9***1 | Петля задн. лев. | |
2 | 9***6 | Накладка крышки багажника | |
3 | 9***3 | Крышка багажника | |
4 | 9***4 | Уплотнитель крышки багажника | |
5 | 9***4 | Пружина крышки багажника лев. | |
5 | 9***5 | Пружина крышки багажника прав. | |
6 | 9***4 | Накладка угловая задн. лев. нижн. | |
6 | 9***6 | Накладка угловая угловая задн. прав. нижн. | |
7 | 9***8 | Панель задн. лев. фонаря нижн. | |
7 | 9***0 | Панель задн. прав. фонаря нижн. | |
8 | 9***1 | Вставка лев. верхн. | |
8 | 9***3 | Вставка прав. верхн. | |
9 | 9***7 | Стекло задка | |
10 | 9***0 | Уплотнитель задн. стекла | |
11 | 9***6 | Рама корпуса воздуховода | |
11 | 9***8 | Рама корпуса воздуховода | |
12 | 9***8 | Боковина лев. задн. часть | |
12 | 9***9 | Боковина прав. задн. часть |
Содержащиеся в справочниках-каталогах запасные части и детали не предлагаются к продаже, а носят исключительно информационный характер. В демо-версии артикулы (номера деталей) скрыты. Если вы хотите видеть полные оригинальные номера запчастей, вам необходимо зарегистрироваться на нашем сайте и приобрести подписку по интересующей вас конфигурации, после этого вы сможете встроить онлайн-каталоги на ваш сайт или пользоваться ими из личного кабинета нашего сайта. Обращаем ваше внимание на то, что каталоги содержат информацию об оригинальных заводских номерах и названиях запчастей. База по аналогам в данный момент не реализована. Поиска по VIN-номерам в онлайн-каталоге не предусмотрено. Выбор конкретного каталога осуществляется путем открытия нужного типа техники, марки, модели с учетом года выпуска или модификации.