Каталог запасных частей к технике: Chevrolet Captiva 2.4 4WD LT (2012). Кузов 14

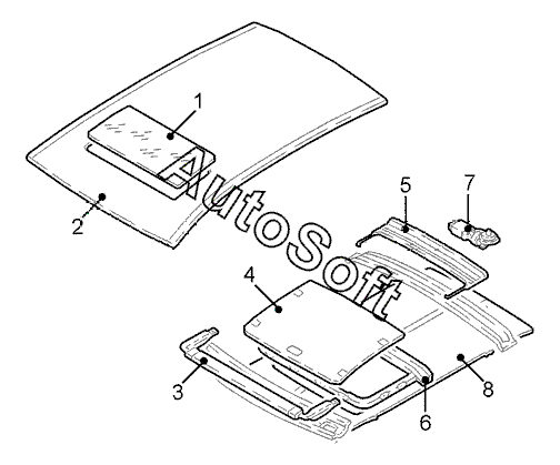
1
2
3
4
5
6
7
8
Позиция на иллюстрации | Заводской номер детали | Название детали | |
---|---|---|---|
1 | 9***8 | Стекло сдвижного люка крыши | |
2 | 9***6 | Крыша | |
3 | 9***2 | Обтекатель люка крыши | |
4 | 9***0 | Облицовка рамы люка крыши | |
5 | 9***6 | Щиток водозащитный | |
6 | -***- | Поперечина крыши средн. | |
7 | 9***8 | Двигатель крышки сдвижного люка | |
8 | 9***3 | Облицовка крыши |
Содержащиеся в справочниках-каталогах запасные части и детали не предлагаются к продаже, а носят исключительно информационный характер. В демо-версии артикулы (номера деталей) скрыты. Если вы хотите видеть полные оригинальные номера запчастей, вам необходимо зарегистрироваться на нашем сайте и приобрести подписку по интересующей вас конфигурации, после этого вы сможете встроить онлайн-каталоги на ваш сайт или пользоваться ими из личного кабинета нашего сайта. Обращаем ваше внимание на то, что каталоги содержат информацию об оригинальных заводских номерах и названиях запчастей. База по аналогам в данный момент не реализована. Поиска по VIN-номерам в онлайн-каталоге не предусмотрено. Выбор конкретного каталога осуществляется путем открытия нужного типа техники, марки, модели с учетом года выпуска или модификации.