Каталог запасных частей к технике: Mercedes Benz грузовые 208 CDI (901661) (2012). Двери 3

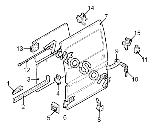
1
2
3
4
5
6
7
8
9
10
12
13
14
15
Позиция на иллюстрации | Заводской номер детали | Название детали | |
---|---|---|---|
1 | 9***8 | Ограничитель прав. | |
2 | 9***7 | Направляющая средн. прав. | |
3 | 9***1 | Облицовка сдвижной двери прав. нижн. | |
4 | 9***5 | Замок прав. | |
5 | 9***8 | Уплотнитель прав. | |
6 | 9***7 | Бегунок средн. прав. | |
7 | 9***8 | Дверь сдвижная прав. | |
8 | 9***8 | Бегунок прав. нижн. | |
9 | 9***9 | Ручка двери прав. | |
10 | 6***5 | Цилиндр прав. замка | |
12 | 9***4 | Тяга привода прав. | |
13 | 9***1 | Ручка прав. внутр. | |
14 | 9***7 | Бегунок прав. верхн. | |
15 | 9***5 | Замок прав. двери |
Содержащиеся в справочниках-каталогах запасные части и детали не предлагаются к продаже, а носят исключительно информационный характер. В демо-версии артикулы (номера деталей) скрыты. Если вы хотите видеть полные оригинальные номера запчастей, вам необходимо зарегистрироваться на нашем сайте и приобрести подписку по интересующей вас конфигурации, после этого вы сможете встроить онлайн-каталоги на ваш сайт или пользоваться ими из личного кабинета нашего сайта. Обращаем ваше внимание на то, что каталоги содержат информацию об оригинальных заводских номерах и названиях запчастей. База по аналогам в данный момент не реализована. Поиска по VIN-номерам в онлайн-каталоге не предусмотрено. Выбор конкретного каталога осуществляется путем открытия нужного типа техники, марки, модели с учетом года выпуска или модификации.