Каталог запасных частей к технике: Mercedes Benz грузовые Actros 1831 LS 4x2 (2012). Кабина/Навесное оборудование 1

25
18
18
19
19
21
21
22
23
24
17
26
27
28
28
29
29
7
7
10
1
3
4
5
6
9
9
10
1
11
11
13
13
14
15
16
16
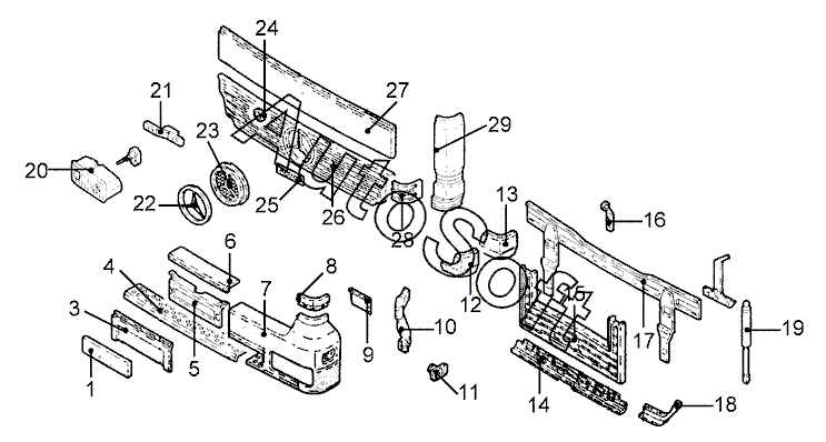
Позиция на иллюстрации | Заводской номер детали | Название детали | |
---|---|---|---|
1 | -***- | Знак номерной передн. отражающий | |
1 | -***- | Знак номерной передн. | |
3 | 9***4 | Капот | |
4 | 9***4 | Бампер передн. средн. часть | |
5 | 9***2 | Бампер передн. средн. часть | |
6 | 9***4 | Накладка | |
7 | 9***4 | Бампер передн. лев. часть | |
7 | 9***4 | Бампер передн. прав. часть | |
9 | 9***4 | Накладка передн. бампера лев. внутр. | |
9 | 9***4 | Накладка передн. бампера прав. внутр. | |
10 | 9***1 | Кронштейн бампера лев. | |
10 | 9***1 | Кронштейн бампера прав. | |
11 | 9***1 | Фонарь указателя поворота передн. прав. | |
11 | 9***1 | Фонарь указателя поворота передн. лев. | |
13 | 9***2 | Облицовка лев. нижн. | |
13 | 9***2 | Облицовка прав. нижн. | |
14 | 9***2 | Облицовка опоры кабины передн. | |
15 | 9***8 | Решетка защитная | |
16 | 9***1 | Петля крышки, расположенной перед кабиной, прав. | |
16 | 9***1 | Петля крышки, расположенной перед кабиной, лев. | |
17 | 9***2 | Усилитель панели облицовки передка | |
18 | 9***2 | Облицовка опоры кабины передн. лев. | |
18 | 9***2 | Облицовка опоры кабины передн. прав. | |
19 | 0***4 | Амортизатор прав. | |
19 | 0***4 | Амортизатор лев. | |
21 | 9***5 | Консоль лев. нижн. | |
21 | 9***5 | Консоль прав. нижн. | |
22 | 9***6 | Звезда-эмблема | |
23 | 6***8 | Решетка | |
24 | 6***8 | Звезда-эмблема | |
25 | 9***5 | Эмблема ACTROS | |
26 | 9***8 | Решетка передка | |
27 | 9***9 | Капот | |
28 | 9***2 | Щиток лев. верхн. | |
28 | 9***2 | Щиток прав. верхн. | |
29 | 9***2 | Уголок передн. лев. | |
29 | 9***2 | Уголок передн. прав. |
Содержащиеся в справочниках-каталогах запасные части и детали не предлагаются к продаже, а носят исключительно информационный характер. В демо-версии артикулы (номера деталей) скрыты. Если вы хотите видеть полные оригинальные номера запчастей, вам необходимо зарегистрироваться на нашем сайте и приобрести подписку по интересующей вас конфигурации, после этого вы сможете встроить онлайн-каталоги на ваш сайт или пользоваться ими из личного кабинета нашего сайта. Обращаем ваше внимание на то, что каталоги содержат информацию об оригинальных заводских номерах и названиях запчастей. База по аналогам в данный момент не реализована. Поиска по VIN-номерам в онлайн-каталоге не предусмотрено. Выбор конкретного каталога осуществляется путем открытия нужного типа техники, марки, модели с учетом года выпуска или модификации.