Каталог запасных частей к технике: Mercedes Benz грузовые Actros MP 3350 AK 6x6 (932182) (2012). Двери 2

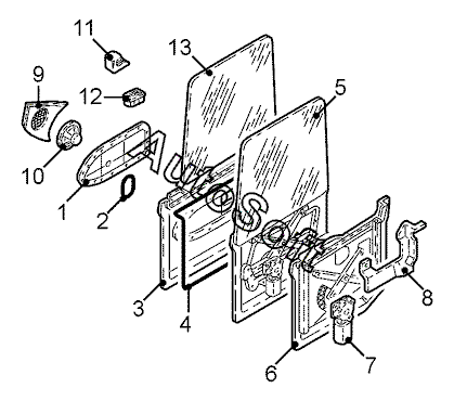
8
1
1
13
13
12
12
11
11
10
10
9
9
2
8
7
7
6
6
5
5
4
4
3
3
2
Позиция на иллюстрации | Заводской номер детали | Название детали | |
---|---|---|---|
1 | 9***6 | Облицовка лев. двери | |
1 | 9***6 | Облицовка прав. двери | |
2 | 0***8 | Манжета прав. | |
2 | 0***8 | Манжета лев. | |
3 | 0***8 | Облицовка лев. двери нижн. часть | |
3 | 0***8 | Облицовка двери прав. нижн. | |
4 | 0***8 | Уплотнитель лев. внутр. | |
4 | 0***8 | Уплотнитель прав. внутр. | |
5 | 9***3 | Модуль передн. лев. двери | |
5 | 9***3 | Модуль передн. прав. двери | |
6 | 0***9 | Панель крепления лев. | |
6 | 0***9 | Панель крепления прав. | |
7 | 0***8 | Двигатель лев. стеклоподъемника | |
7 | 0***8 | Двигатель прав. стеклоподъемника | |
8 | 0***4 | Кронштейн замка двери лев. | |
8 | 0***4 | Кронштейн замка двери прав. | |
9 | 0***0 | Накладка динамика двери | |
9 | 0***0 | Накладка динамика двери | |
10 | 0***2 | Динамик прав. двери | |
10 | 0***2 | Динамик лев. двери | |
11 | 0***4 | Форсунка воздуховода передн. лев. двери | |
11 | 0***4 | Форсунка воздуховода передн. прав. двери | |
12 | 9***7 | Панель приборов лев. часть | |
12 | 9***7 | Панель приборов прав. часть | |
13 | 0***8 | Стекло передн. лев. двери | |
13 | 0***8 | Стекло передн. прав. двери |
Содержащиеся в справочниках-каталогах запасные части и детали не предлагаются к продаже, а носят исключительно информационный характер. В демо-версии артикулы (номера деталей) скрыты. Если вы хотите видеть полные оригинальные номера запчастей, вам необходимо зарегистрироваться на нашем сайте и приобрести подписку по интересующей вас конфигурации, после этого вы сможете встроить онлайн-каталоги на ваш сайт или пользоваться ими из личного кабинета нашего сайта. Обращаем ваше внимание на то, что каталоги содержат информацию об оригинальных заводских номерах и названиях запчастей. База по аналогам в данный момент не реализована. Поиска по VIN-номерам в онлайн-каталоге не предусмотрено. Выбор конкретного каталога осуществляется путем открытия нужного типа техники, марки, модели с учетом года выпуска или модификации.