Каталог запасных частей к технике: Renault грузовые Magnum E.TECH 480.18 4x2 (2012). Рама/ Кабина 11
21
14
14
15
16
17
17
18
19
20
13
21
22
22
23
23
24
24
28
7
2
3
3
4
4
5
6
6
6
1
8
8
8
9
10
11
12
12
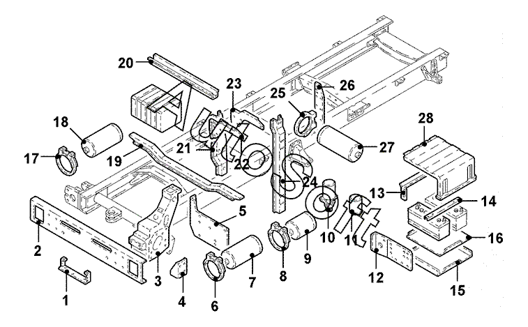
| Позиция на иллюстрации | Заводской номер детали | Название детали | |
|---|---|---|---|
| 1 | 5***8 | Опора передн. | |
| 2 | 5***0 | Поперечина передн. | |
| 3 | 5***3 | Консоль лев. | |
| 3 | 5***4 | Консоль прав. | |
| 4 | 5***4 | Консоль передн. прав. | |
| 4 | 5***5 | Консоль передн. лев. | |
| 5 | 5***8 | Косынка лев. | |
| 6 | 5***0 | Кронштейн с хомутом крепления | |
| 6 | 5***3 | Замок | |
| 6 | 5***8 | Хомут крепления | |
| 7 | 5***9 | Цистерна воздушная | |
| 8 | 5***4 | Кронштейн с хомутом крепления | |
| 8 | 5***3 | Замок | |
| 8 | 5***8 | Хомут крепления | |
| 9 | 5***9 | Цистерна воздушная | |
| 10 | 5***0 | Осушитель | |
| 11 | 5***7 | Элемент фильтрующий | |
| 12 | 5***6 | Кронштейн аккумуляторной батареи | |
| 12 | 5***8 | Кронштейн аккумуляторной батареи | |
| 13 | 5***5 | Кронштейн аккумуляторной батареи задн. | |
| 14 | 5***2 | Скоба аккумуляторной батареи передн. | |
| 14 | 5***2 | Скоба аккумуляторной батареи задн. | |
| 15 | 5***8 | Ящик аккумуляторной батареи, нижн. часть | |
| 16 | 5***8 | Поддон аккумуляторной батареи 230 AH | |
| 17 | 5***0 | Кронштейн с хомутом крепления | |
| 17 | 5***8 | Хомут крепления | |
| 18 | 5***9 | Цистерна воздушная | |
| 19 | 5***4 | Поперечина нижн. | |
| 20 | 5***3 | Поперечина верхн. | |
| 21 | 5***1 | Опора лев. внутр. | |
| 21 | 5***1 | Опора прав. внутр. | |
| 22 | 5***1 | Косынка лев. | |
| 22 | 5***2 | Косынка прав. | |
| 23 | 5***1 | Косынка прав. | |
| 23 | 5***2 | Косынка лев. | |
| 24 | 5***4 | Опора лев. наружн. | |
| 24 | 5***4 | Опора прав. наружн. | |
| 28 | 5***0 | Ящик аккумуляторной батареи, верхн. часть |
Содержащиеся в справочниках-каталогах запасные части и детали не предлагаются к продаже, а носят исключительно информационный характер. В демо-версии артикулы (номера деталей) скрыты. Если вы хотите видеть полные оригинальные номера запчастей, вам необходимо зарегистрироваться на нашем сайте и приобрести подписку по интересующей вас конфигурации, после этого вы сможете встроить онлайн-каталоги на ваш сайт или пользоваться ими из личного кабинета нашего сайта. Обращаем ваше внимание на то, что каталоги содержат информацию об оригинальных заводских номерах и названиях запчастей. База по аналогам в данный момент не реализована. Поиска по VIN-номерам в онлайн-каталоге не предусмотрено. Выбор конкретного каталога осуществляется путем открытия нужного типа техники, марки, модели с учетом года выпуска или модификации.