Каталог запасных частей к технике: XCMG XE215C. 310714185 ELECTRICAL CONTROL SYSTEM

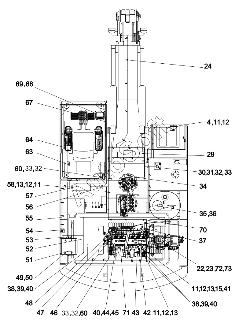
56
44
45
46
47
48
49
50
51
52
53
54
55
43
57
58
60
60
63
64
67
68
69
70
71
72
73
31
4
11
11
11
11
12
12
12
12
13
13
13
15
22
23
24
29
30
32
32
32
33
33
33
34
35
36
37
38
38
39
39
40
40
40
41
42
Позиция на иллюстрации | Заводской номер детали | Название детали | |
---|---|---|---|
1 | 8***9 | Болт | |
2 | 8***1 | Washer | |
3 | 8***1 | Spring Washer | |
4 | 8***2 | LEDWORK LAMP DC24V | |
11 | 8***3 | Bolt | |
12 | 8***7 | WASHER 8 | |
13 | 8***9 | Washer | |
15 | 8***5 | Монтажное приспособление | |
22 | 8***8 | WASHER | |
23 | 8***4 | BOLT М6x12 | |
24 | 8***2 | FIXED SEAT TIE | |
29 | 8***0 | WIRE CLAMP d25-8 | |
30 | 8***7 | Level Sensor | |
31 | 8***5 | SCREW M5x16 | |
32 | 8***3 | WASHER 5 | |
33 | 8***0 | WASHER 5 | |
34 | 8***5 | PRESSURE SWITCH | |
35 | 8***7 | Oil temperature sensor | |
36 | 8***4 | Шайба 14 | |
37 | 8***4 | SWITCH | |
38 | 8***2 | BOLT M10x20 | |
39 | 8***9 | Washer | |
40 | 8***0 | Spring Washer | |
41 | 8***7 | ROTATING SPEED SENSOR | |
42 | 8***9 | Start Relay | |
43 | 8***3 | BATTERY CABLE | |
44 | 8***3 | BOLT M10x1.25x20 | |
45 | 8***4 | WIRE CLAMP | |
46 | 8***0 | SWITCH | |
47 | 8***3 | SENSOR | |
48 | 8***4 | SWITCH | |
49 | 8***0 | Negative pole coverage | |
50 | 8***1 | Positive pole coverage | |
51 | 8***1 | Cable | |
52 | 8***9 | Battery cable | |
53 | 8***0 | Проводка аккумулятора | |
54 | 8***5 | Power master switch | |
55 | 8***0 | Battery cable | |
56 | 8***9 | WIRE CLAMPd45-8 | |
57 | 3***5 | ELECTRICAL CABINET ASSEMBLY | |
58 | 8***5 | WIRE CLAMP | |
60 | 8***4 | SCREW M5x12 | |
63 | 8***9 | CIGARETTE LIGHTER | |
64 | 3***1 | MAIN WIRING HARNESS | |
67 | 3***8 | HARNESS | |
68 | 8***9 | ELECTRONIC MONITOR | |
69 | 8***6 | BOLT M5x12 | |
70 | 8***2 | WIRE CLAMP | |
71 | 8***0 | NUT M6 | |
72 | 8***4 | Шайба 6 | |
73 | 8***6 | Монтажное приспособление |
Содержащиеся в справочниках-каталогах запасные части и детали не предлагаются к продаже, а носят исключительно информационный характер. В демо-версии артикулы (номера деталей) скрыты. Если вы хотите видеть полные оригинальные номера запчастей, вам необходимо зарегистрироваться на нашем сайте и приобрести подписку по интересующей вас конфигурации, после этого вы сможете встроить онлайн-каталоги на ваш сайт или пользоваться ими из личного кабинета нашего сайта. Обращаем ваше внимание на то, что каталоги содержат информацию об оригинальных заводских номерах и названиях запчастей. База по аналогам в данный момент не реализована. Поиска по VIN-номерам в онлайн-каталоге не предусмотрено. Выбор конкретного каталога осуществляется путем открытия нужного типа техники, марки, модели с учетом года выпуска или модификации.