Каталог запасных частей к технике: XCMG XE215C. 310714185 ELECTRICAL CONTROL SYSTEM

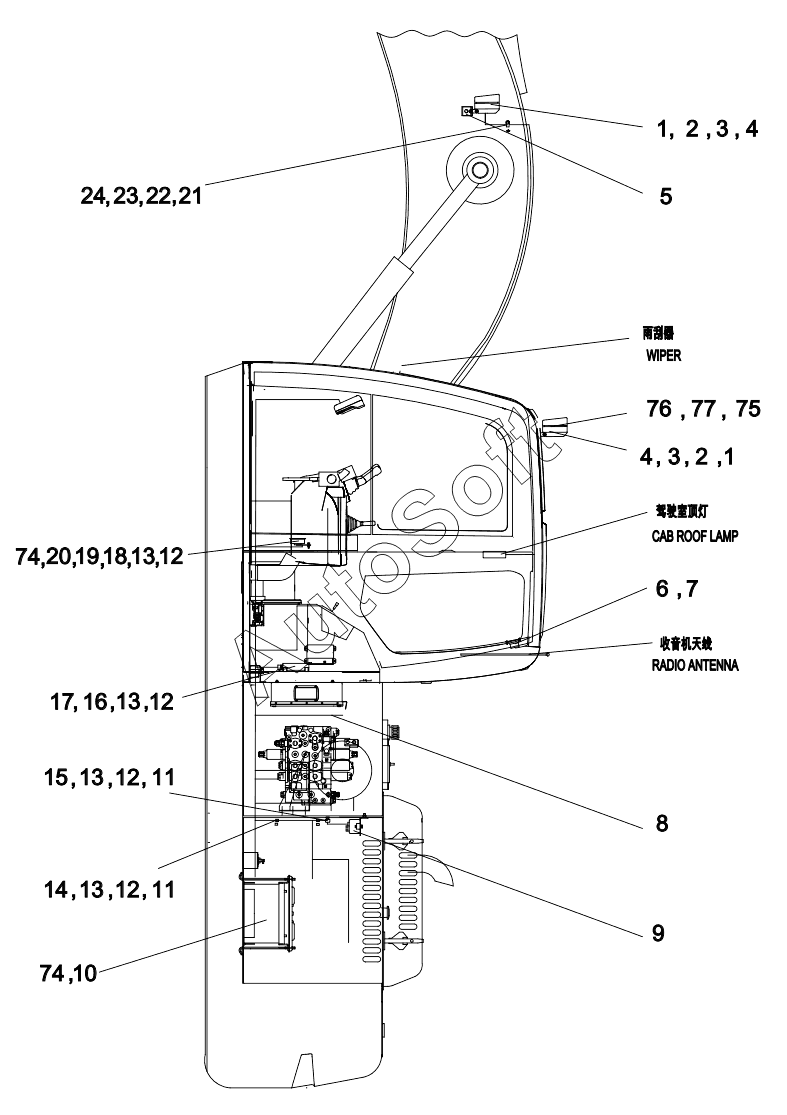
15
77
76
75
74
74
24
23
22
21
20
19
18
17
16
1
1
14
13
13
13
13
12
12
12
12
11
11
10
9
8
7
6
5
4
4
3
3
2
2
Позиция на иллюстрации | Заводской номер детали | Название детали | |
---|---|---|---|
1 | 8***9 | Болт | |
2 | 8***1 | Washer | |
3 | 8***1 | Spring Washer | |
4 | 8***2 | LEDWORK LAMP DC24V | |
5 | 3***7 | Кронштейн лампы стрелы | |
6 | 8***7 | Net | |
7 | 8***6 | Reproducer | |
8 | 3***0 | MAIN WIRING HARNESS | |
9 | 3***5 | EVAPORATOR | |
10 | 3***2 | BATTERY ASSEMBLY | |
11 | 8***3 | Bolt | |
12 | 8***7 | WASHER 8 | |
13 | 8***9 | Washer | |
14 | 8***9 | WIRE CLAMP d16-8 | |
15 | 8***5 | Монтажное приспособление | |
16 | 8***4 | MAIN CONTROLLER | |
17 | 8***7 | Bolt | |
18 | 8***0 | HORN | |
19 | 8***9 | Bolt | |
20 | 8***8 | NUT M8 | |
21 | 8***5 | WASHER | |
22 | 8***8 | WASHER | |
23 | 8***4 | BOLT М6x12 | |
24 | 8***2 | FIXED SEAT TIE | |
74 | 8***9 | HORN | |
75 | 8***5 | JACKET | |
76 | 8***1 | PLUG STUD | |
77 | 8***6 | CARD LOCKED |
Содержащиеся в справочниках-каталогах запасные части и детали не предлагаются к продаже, а носят исключительно информационный характер. В демо-версии артикулы (номера деталей) скрыты. Если вы хотите видеть полные оригинальные номера запчастей, вам необходимо зарегистрироваться на нашем сайте и приобрести подписку по интересующей вас конфигурации, после этого вы сможете встроить онлайн-каталоги на ваш сайт или пользоваться ими из личного кабинета нашего сайта. Обращаем ваше внимание на то, что каталоги содержат информацию об оригинальных заводских номерах и названиях запчастей. База по аналогам в данный момент не реализована. Поиска по VIN-номерам в онлайн-каталоге не предусмотрено. Выбор конкретного каталога осуществляется путем открытия нужного типа техники, марки, модели с учетом года выпуска или модификации.