Меню Закрыть

Демо

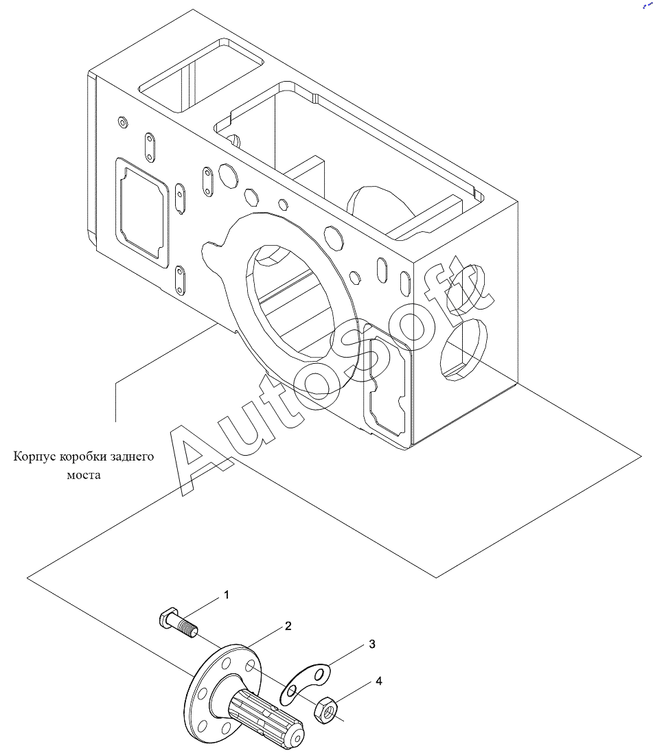
Каталог запасных частей к технике: Zoomlion RN (90-110 л.с.). 015712041CAC00000 Механизм отбора мощности в сборе (1)

zoom-in zoom-out enlarge shrink circle-right circle-left file-text2 info cart
1
2
3
4
Позиция на иллюстрации Заводской номер детали Название детали
1 0***7 Соединительный болт вала отбора мощности
2 0***2 Вал отбора мощности
3 0***3 Стопорная шайба
4 1***7 Гайка
Содержащиеся в справочниках-каталогах запасные части и детали не предлагаются к продаже, а носят исключительно информационный характер. В демо-версии артикулы (номера деталей) скрыты. Если вы хотите видеть полные оригинальные номера запчастей, вам необходимо зарегистрироваться на нашем сайте и приобрести подписку по интересующей вас конфигурации, после этого вы сможете встроить онлайн-каталоги на ваш сайт или пользоваться ими из личного кабинета нашего сайта. Обращаем ваше внимание на то, что каталоги содержат информацию об оригинальных заводских номерах и названиях запчастей. База по аналогам в данный момент не реализована. Поиска по VIN-номерам в онлайн-каталоге не предусмотрено. Выбор конкретного каталога осуществляется путем открытия нужного типа техники, марки, модели с учетом года выпуска или модификации.