Каталог запасных частей к технике: ЧСДМ ДЗ-98В (2022). Трансмиссия (ДЗ-98В. 10.00.000, ДЗ-98В. 10.00.000-01);Transmission

12
23
22
21
20
19
18
17
16
15
14
13
13
1
1
11
10
9
8
7
6
5
4
3
2
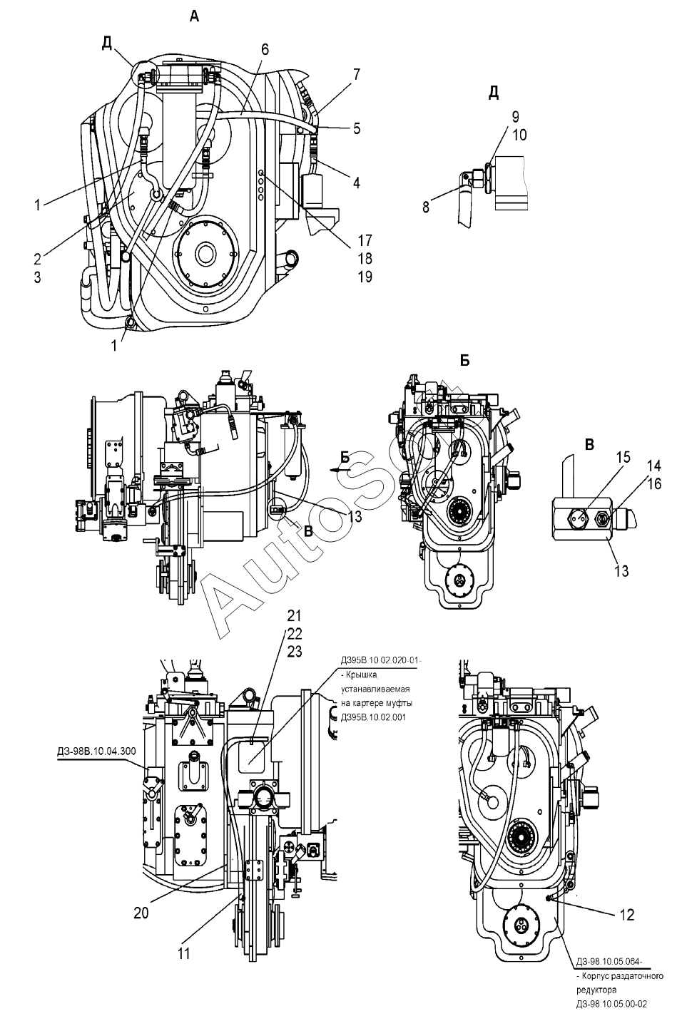
Позиция на иллюстрации | Заводской номер детали | Название детали | |
---|---|---|---|
1 | Р***0 | РНД 10-4,4-650-0,08-54.90/54.90-М18х1,5/М18х1,5-У1-1800 | |
2 | Д***0 | Крышка | |
3 | Д***9 | Прокладка | |
4 | Р***1 | РНД 10-4,4-650-0,08.54/54-М18х1,5/М18х1,5-У1 | |
5 | Д***0 | Тройник | |
6 | Р***1 | РНД | |
7 | Р***1 | РНД | |
8 | E***D | Фитинг угловой | |
9 | 0***3 | Щтуцер | |
10 | U***2 | Уплотнение | |
11 | Т***0 | Трубка полиамидная | |
12 | Ф***2 | Фитинг с накидной гайкой для пластиковых трубок 1500 12/10-1/2 | |
13 | Д***1 | Крышка | |
14 | 6***3 | Датчик аварийного давления | |
15 | Т***0 | Датчик-сигнализатор температуры | |
16 | U***2 | Уплотнение | |
17 | Б***9 | БолтМ16-6gх75.58.019 | |
18 | Г***9 | ГайкаМ16-6H.5.019 | |
19 | Ш***9 | Шайба1665Г019 | |
20 | 0***3 | Знак "Уровень масла" | |
21 | Д***2 | Прокладка | |
22 | 0***1 | Хомут | |
23 | Б***9 | Болт М10-6gх25.58.019 |
Содержащиеся в справочниках-каталогах запасные части и детали не предлагаются к продаже, а носят исключительно информационный характер. В демо-версии артикулы (номера деталей) скрыты. Если вы хотите видеть полные оригинальные номера запчастей, вам необходимо зарегистрироваться на нашем сайте и приобрести подписку по интересующей вас конфигурации, после этого вы сможете встроить онлайн-каталоги на ваш сайт или пользоваться ими из личного кабинета нашего сайта. Обращаем ваше внимание на то, что каталоги содержат информацию об оригинальных заводских номерах и названиях запчастей. База по аналогам в данный момент не реализована. Поиска по VIN-номерам в онлайн-каталоге не предусмотрено. Выбор конкретного каталога осуществляется путем открытия нужного типа техники, марки, модели с учетом года выпуска или модификации.