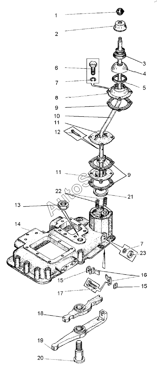
Каталог запасных частей к технике: ЧСДМ ДЗ-98В (2022). Механизм переключения передач (Д395В.10.04.010);Gear Shift Mechanism

12
23
22
21
20
19
18
17
16
15
15
14
13
1
11
11
10
9
9
8
7
7
6
5
4
3
2
Позиция на иллюстрации | Заводской номер детали | Название детали | |
---|---|---|---|
1 | Д***7 | Ручка шаровая | |
2 | Д***1 | Колпачок | |
3 | 4***1 | Колпачок | |
4 | Д***8 | Крышка шарового фланца | |
5 | 4***0 | Кольцо уплотнительное | |
6 | Б***9 | Болт М10-6gх25.58.019 | |
7 | Ш***9 | Шайба 10.65Г.069 | |
8 | Д***7 | Фланец шаровой наружный | |
9 | Д***8 | Прокладка | |
10 | Д***1 | Рычаг | |
11 | Д***6 | Фланец шаровой внутренний | |
12 | Ш***6 | Шплинт 4х36 | |
13 | Д***6 | Гайка | |
14 | Д***1 | Корпус | |
15 | Д***1 | Прокладка | |
16 | Д***1 | Упор | |
17 | Б***9 | Болт М10-6gх30.58.019 | |
18 | Д***0 | Рычаг в сборе | |
19 | Д***0 | Рычаг в сборе | |
20 | Д***9 | Палец | |
21 | Д***3 | Кольцо | |
22 | Д***5 | Пружина фланца | |
23 | Г***9 | Гайка М10-6Н.5.019 |
Содержащиеся в справочниках-каталогах запасные части и детали не предлагаются к продаже, а носят исключительно информационный характер. В демо-версии артикулы (номера деталей) скрыты. Если вы хотите видеть полные оригинальные номера запчастей, вам необходимо зарегистрироваться на нашем сайте и приобрести подписку по интересующей вас конфигурации, после этого вы сможете встроить онлайн-каталоги на ваш сайт или пользоваться ими из личного кабинета нашего сайта. Обращаем ваше внимание на то, что каталоги содержат информацию об оригинальных заводских номерах и названиях запчастей. База по аналогам в данный момент не реализована. Поиска по VIN-номерам в онлайн-каталоге не предусмотрено. Выбор конкретного каталога осуществляется путем открытия нужного типа техники, марки, модели с учетом года выпуска или модификации.