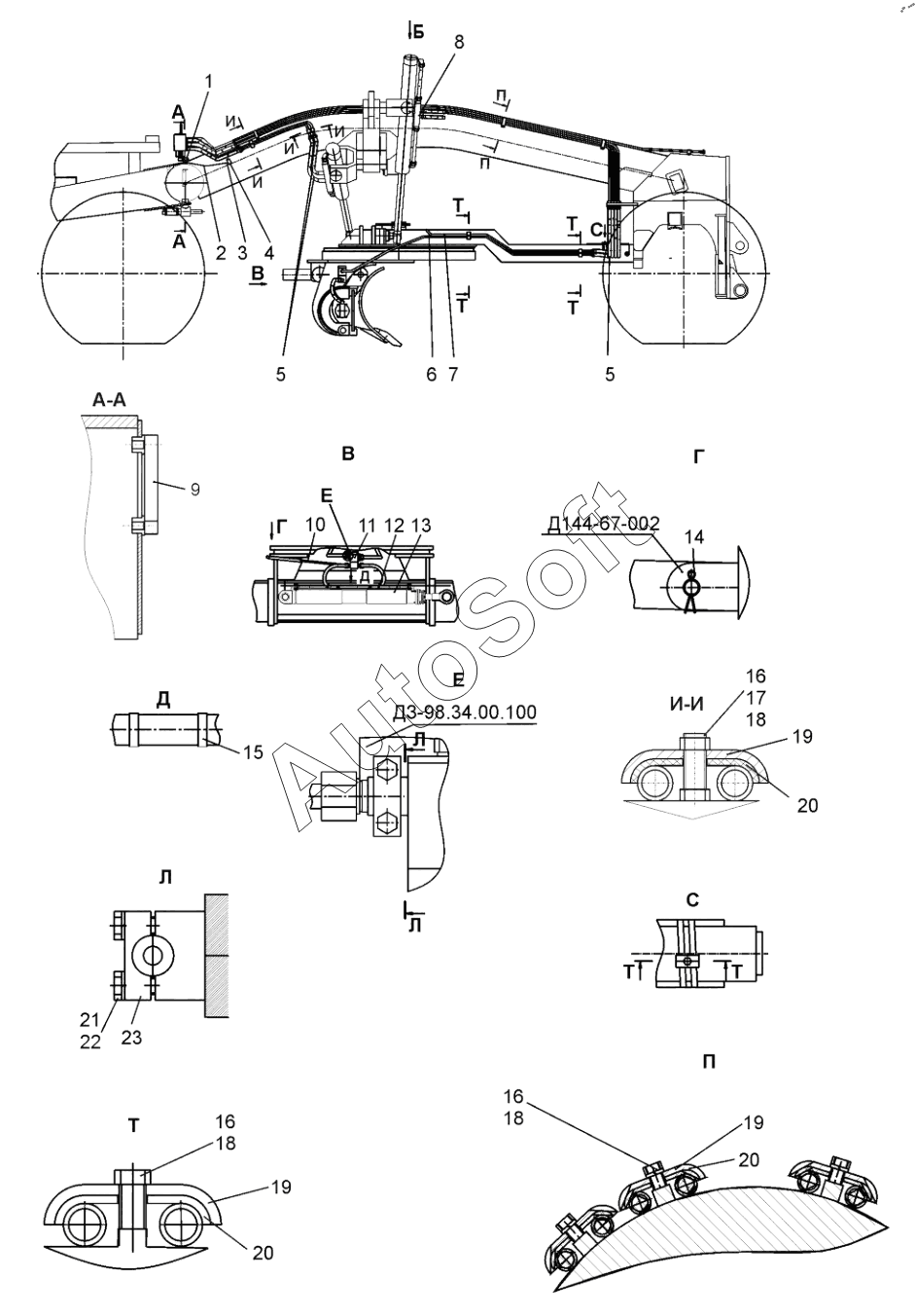
Каталог запасных частей к технике: ЧСДМ ДЗ-250 (механическая) (2024). Гидросистема автогрейдера (ДЗ-98М1.43.00.000)

12
23
22
21
20
20
20
19
19
19
18
18
18
17
16
16
16
15
14
13
1
11
10
9
9
8
7
6
5
5
4
3
2
Позиция на иллюстрации | Заводской номер детали | Название детали | |
---|---|---|---|
1 | Ф***5 | Фитинг угловой 9502 12 М16х1.5 | |
2 | Т***B | Трубка HTRAB ЧЕРН HTR 12/9-NAB | |
3 | Ф***5 | Фитинг прямой 9512 12 М12х1.5 | |
4 | Д***4 | Сапун | |
5 | Р***1 | РВД 15,9-100-1050-0,2-11/11 М27х1,5/М27х1,5-У1 | |
6 | Д***0 | Труба | |
7 | Д***0 | Труба | |
8 | Д***1 | Установка гидрозамка | |
9 | L***0 | Уровнемер | |
9 | S***0 | Уровнемер | |
10 | Д***0 | Водило | |
11 | Д***1 | Гидропереход поворотный | |
12 | Р***1 | РВД 15,9-100-1650-0,2-11/11 М27х1,5/М27х1,5-У1 | |
13 | Г***0 | Гидроцилиндр | |
14 | Ш***9 | Шплинт 3.2х32.019 | |
15 | Х***6 | Хомут | |
16 | Б***9 | Болт М10-6gх25.58.019 | |
17 | Г***9 | Гайка М10-6H.5.019 | |
18 | Ш***9 | Шайба 10 65Г 019 | |
19 | Д***3 | Хомут | |
20 | Д***4 | Прокладка | |
21 | Б***9 | Болт М12-6gх40.58.019 | |
22 | Ш***9 | Шайба 12 65Г 019 | |
23 | Д***2 | Крышка |
Содержащиеся в справочниках-каталогах запасные части и детали не предлагаются к продаже, а носят исключительно информационный характер. В демо-версии артикулы (номера деталей) скрыты. Если вы хотите видеть полные оригинальные номера запчастей, вам необходимо зарегистрироваться на нашем сайте и приобрести подписку по интересующей вас конфигурации, после этого вы сможете встроить онлайн-каталоги на ваш сайт или пользоваться ими из личного кабинета нашего сайта. Обращаем ваше внимание на то, что каталоги содержат информацию об оригинальных заводских номерах и названиях запчастей. База по аналогам в данный момент не реализована. Поиска по VIN-номерам в онлайн-каталоге не предусмотрено. Выбор конкретного каталога осуществляется путем открытия нужного типа техники, марки, модели с учетом года выпуска или модификации.