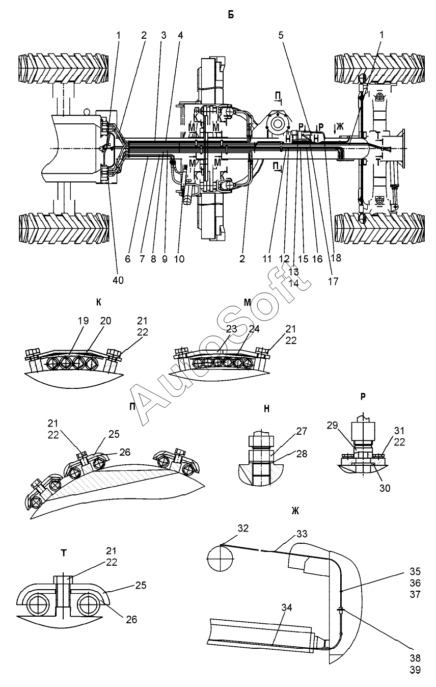
Каталог запасных частей к технике: ЧСДМ ДЗ-250 (механическая) (2024). Гидросистема автогрейдера (ДЗ-98М1.43.00.000)

31
22
22
22
22
22
23
24
25
25
26
26
27
28
29
30
21
21
21
21
32
33
34
35
36
37
38
39
40
11
2
2
3
4
5
6
7
8
9
10
1
1
12
13
14
15
16
17
18
19
20
Позиция на иллюстрации | Заводской номер детали | Название детали | |
---|---|---|---|
1 | Д***0 | Труба | |
2 | Р***1 | РВД 15,9-100-1050-0,2-11/11 М27х1,5/М27х1,5-У1 | |
3 | Д***1 | Труба | |
4 | Д***0 | Труба | |
5 | 3***6 | Гидромотор | |
6 | Д***0 | Труба | |
7 | Д***1 | Труба | |
8 | Д***0 | Труба | |
9 | Д***1 | Труба | |
10 | Д***0 | Установка гидрозамка | |
11 | Д***0 | Труба | |
12 | Д***1 | Труба | |
13 | Б***9 | Болт М12-6gх40.58.019 | |
14 | Ш***9 | Шайба 12 65Г 019 | |
15 | Д***2 | Труба | |
16 | Д***3 | Труба | |
17 | Р***1 | РВД | |
18 | Р***1 | РВД | |
19 | Д***3 | Прокладка | |
20 | Д***2 | Планка | |
21 | Б***9 | Болт М10-6gх25.58.019 | |
22 | Ш***9 | Шайба 10 65Г 019 | |
23 | Д***1 | Планка | |
24 | Д***1 | Прокладка | |
25 | Д***3 | Хомут | |
26 | Д***4 | Прокладка | |
27 | 0***2 | Штуцер | |
28 | У***8 | Уплотнение | |
29 | Д***0 | Штуцер | |
30 | К***2 | Кольцо 026-032-36-2-2 | |
31 | В***9 | Винт М10-6gх25.109 | |
32 | Ф***5 | Фитинг угловой 9502 12 М16х1.5 | |
33 | Т***B | Трубка HTRAB ЧЕРНHTR12/9-NAB | |
34 | Р***1 | РНД10-4,4-2000-0,08-54/54.90-М18х1,5/М18х1,5-У1 | |
35 | 0***1 | Хомут | |
36 | Б***9 | Болт М10-6gх20.58.019 | |
37 | Д***8 | Прокладка | |
38 | Д***7 | Переходник | |
39 | Ф***5 | Фитинг прямой 9512 12 М12х1.5 | |
40 | З***5 | Заглушка D2612 M16х1,5 |
Содержащиеся в справочниках-каталогах запасные части и детали не предлагаются к продаже, а носят исключительно информационный характер. В демо-версии артикулы (номера деталей) скрыты. Если вы хотите видеть полные оригинальные номера запчастей, вам необходимо зарегистрироваться на нашем сайте и приобрести подписку по интересующей вас конфигурации, после этого вы сможете встроить онлайн-каталоги на ваш сайт или пользоваться ими из личного кабинета нашего сайта. Обращаем ваше внимание на то, что каталоги содержат информацию об оригинальных заводских номерах и названиях запчастей. База по аналогам в данный момент не реализована. Поиска по VIN-номерам в онлайн-каталоге не предусмотрено. Выбор конкретного каталога осуществляется путем открытия нужного типа техники, марки, модели с учетом года выпуска или модификации.