Каталог запасных частей к технике: ЗиД-50-02 (2008). Колесо заднее
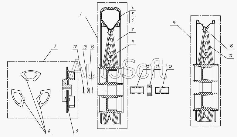
10
19
18
17
16
15
14
12
11
1
9
8
7
6
5
4
3
2
| Позиция на иллюстрации | Заводской номер детали | Название детали | |
|---|---|---|---|
| 1 | 1***1 | Колесо заднее | |
| 2 | 1***1 | Обод колеса | |
| 3 | 1***1 | Колпачок-ключик | |
| 4 | 1***1 | Шина | |
| 5 | 1***1 | Камера 2,50/85-16 | |
| 6 | 1***1 | Лента ободная 16х20 мм | |
| 7 | 1***1 | Муфта ведущая | |
| 8 | 1***1 | Сектор соединительный | |
| 9 | 1***1 | Муфта | |
| 10 | 1***1 | Втулка распорная | |
| 11 | 1***1 | Втулка ступицы | |
| 12 | 1***1 | Втулка манжеты | |
| 14 | 1***1 | Обод колеса | |
| 15 | 1***1 | Спица Б-М4 | |
| 16 | 1***1 | Ниппель М4 | |
| 17 | 0***1 | Шплинт 3,2х25.019 | |
| 18 | 1***1 | Гайка | |
| 19 | 0***1 | Шайба 15 |
Содержащиеся в справочниках-каталогах запасные части и детали не предлагаются к продаже, а носят исключительно информационный характер. В демо-версии артикулы (номера деталей) скрыты. Если вы хотите видеть полные оригинальные номера запчастей, вам необходимо зарегистрироваться на нашем сайте и приобрести подписку по интересующей вас конфигурации, после этого вы сможете встроить онлайн-каталоги на ваш сайт или пользоваться ими из личного кабинета нашего сайта. Обращаем ваше внимание на то, что каталоги содержат информацию об оригинальных заводских номерах и названиях запчастей. База по аналогам в данный момент не реализована. Поиска по VIN-номерам в онлайн-каталоге не предусмотрено. Выбор конкретного каталога осуществляется путем открытия нужного типа техники, марки, модели с учетом года выпуска или модификации.